Скачать ГОСТ 32110-2013 Шум машин. Испытания на шум бытовых и профессиональных газонокосилок с двигателем, газонных и садовых тракторов с навесными устройствами для кошенияДата актуализации: 01.06.2025 ГОСТ 32110-2013
Шум машин. Испытания на шум бытовых и профессиональных газонокосилок с двигателем, газонных и садовых тракторов с навесными устройствами для кошения
| Обозначение: |  ГОСТ 32110-2013 |
| Статус: | действующий |
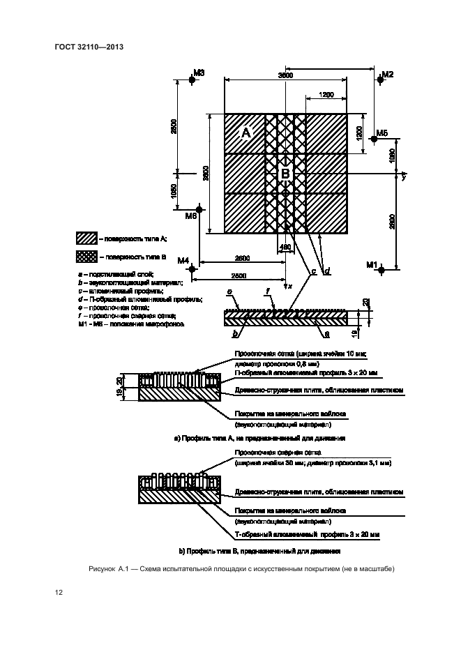
| Название рус.: | Шум машин. Испытания на шум бытовых и профессиональных газонокосилок с двигателем, газонных и садовых тракторов с навесными устройствами для кошения | | Дата актуализации текста: | 01.01.2021 | | Дата актуализации описания: | 01.07.2023 | | Дата регистрации: | 25.03.2013 | | Дата издания: | 02.12.2019 | | Дата введения: | 01.09.2014 | | Содержит требования: | ISO 11094:1991 | | Нормативные ссылки: | ГОСТ 17187; ГОСТ 17479.1; ГОСТ 30691; ГОСТ 31275; ГОСТ 31704; ГОСТ Р 53188.1-2019; ГОСТ Р ИСО 3744-2013 | | Область применения: | Настоящий стандарт устанавливает технический метод определения корректированного по А уровня звуковой мощности машин бытового или профессионального (промышленного ) назначения следующих типов: - газонокосилок с приводным двигателем: управляемых сзади идущим оператором, самоходных с сиденьем оператора, с питанием от сети, от аккумулятора или приводимых в действие двигателем внутреннего сгорания; - садовых тракторов или других многоцелевых садовых машин с устройствами для кошения; - профессиональных (промышленных) косилок и оборудования для ухода за дерном | |
                  
|