| Обозначение: |  ГОСТ Р 55649-2013 |
| Статус: | отменён |
| Название рус.: | Изоляторы секционные для контактной сети железных дорог. Общие технические условия |
| Дата актуализации текста: | 01.01.2021 |
| Дата актуализации описания: | 01.07.2023 |
| Дата издания: | 01.12.2014 |
| Дата введения: | 01.07.2014 |
| Дата окончания срока действия: | 01.04.2018 |
| Код ОКП: | 318533 |
| На территории РФ пользоваться: | ГОСТ 34205-2017 |
| Нормативные ссылки: | ГОСТ Р 55647-2013; ГОСТ 2.601-2006; ГОСТ 9.307-89; ГОСТ 15.309-98; ГОСТ 434-78; ГОСТ 1516.2-97; ГОСТ 1583-93; ГОСТ 2991-85; ГОСТ 5582-75; ГОСТ 7350-77; ГОСТ 10390-86; ГОСТ 12393-77; ГОСТ 14192-96; ГОСТ 15150-69; ГОСТ 16504-81; ГОСТ 18321-73; ГОСТ 18620-86; ГОСТ 23216-78; ГОСТ 27744-88; ГОСТ 28157-89; ГОСТ 28856-90 |
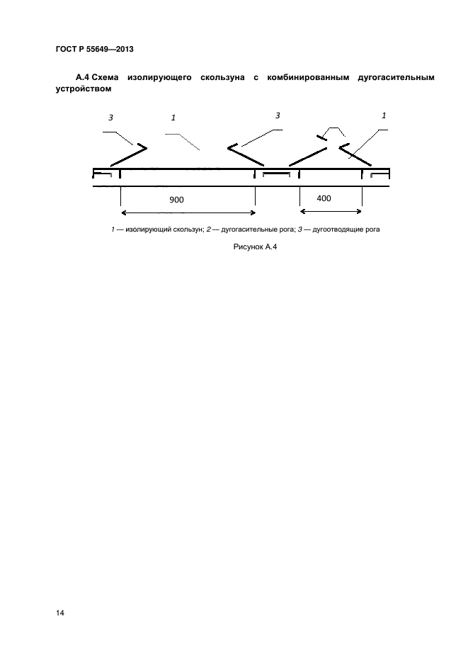
| Область применения: | Настоящий стандарт распространяется на секционные изоляторы, предназначенные: - для секционирования контактных подвесок с одним и двумя контактными проводами на железнодорожном транспорте общего пользования, участках движения электроподвижного состава (ЭПС) со скоростью до 250 км/ч; - для разделения и образования переключаемых секций контактной сети станций стыкования двух родов тока (переменного напряжением 25 кВ и постоянного – 3 кВ); - для образования нейтральных вставок (25/25 и 25/3 кВ); - для разделения фаз контактной сети переменного тока |
| Список изменений: | №0 от 31.03.2018 (рег. 25.09.2017) «Текстовое изменение; Изменено заглавие» |
|