| Обозначение: |  ГОСТ Р 55510-2013 |
| Статус: | отменён |
| Название рус.: | Арматура трубопроводная. Приводы вращательного действия. Присоединительные размеры |
| Дата актуализации текста: | 01.01.2021 |
| Дата актуализации описания: | 01.07.2023 |
| Дата издания: | 01.04.2014 |
| Дата введения: | 01.02.2014 |
| Дата окончания срока действия: | 01.06.2021 |
| На территории РФ пользоваться: | ГОСТ 34287-2017 |
| Нормативные ссылки: | ISO 5210;ISO 5211; ГОСТ Р 52720-2007; ГОСТ 22042-76 |
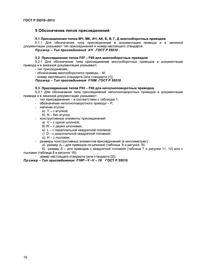
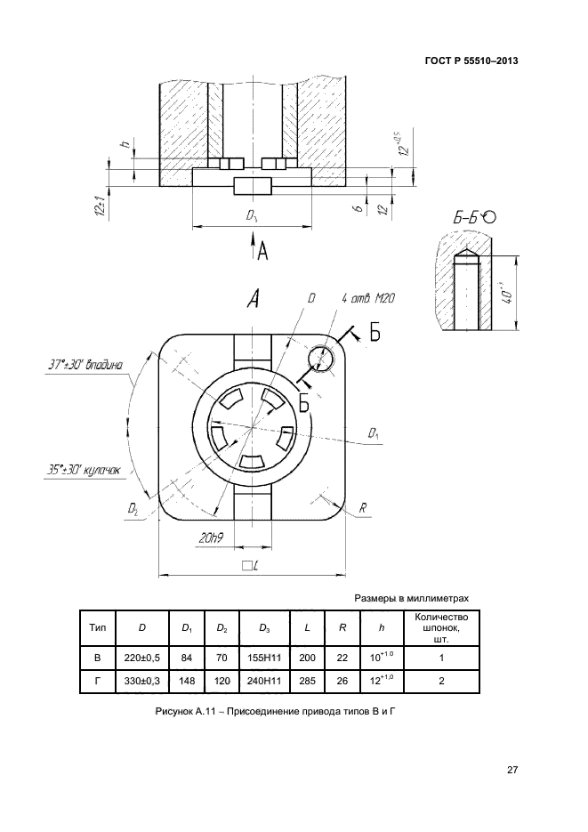
| Область применения: | Настоящий стандарт распространяется на приводы и исполнительные механизмы вращательного действия (далее - приводы) (многооборотные и неполноповоротные, электрические, пневматические, гидравлические, а также редукторы) и устанавливает типы присоединений приводов к трубопроводной арматуре, присоединительные размеры приводов и размеры ответных присоединений управляемой ими трубопроводной арматуры |
|