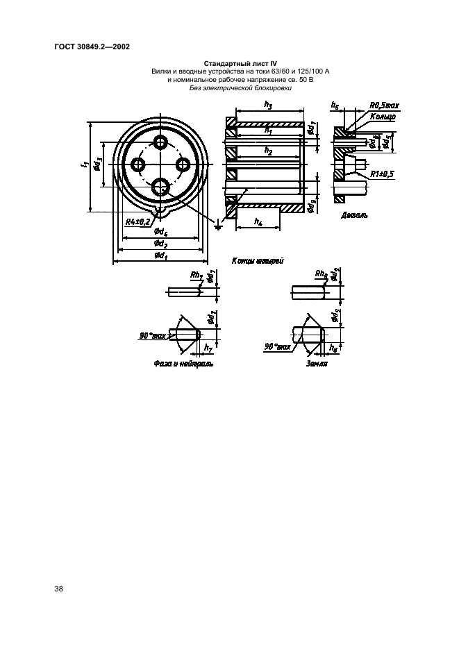
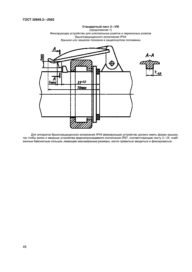
Скачать ГОСТ 30849.2-2002 Вилки, штепсельные розетки и соединительные устройства промышленного назначения. Часть 2. Требования к взаимозаменяемости размеров штырей и контактных гнезд соединителейДата актуализации: 01.06.2025 ГОСТ 30849.2-2002
Вилки, штепсельные розетки и соединительные устройства промышленного назначения. Часть 2. Требования к взаимозаменяемости размеров штырей и контактных гнезд соединителей
| Обозначение: |  ГОСТ 30849.2-2002 |
| Статус: | заменён |
| Название рус.: | Вилки, штепсельные розетки и соединительные устройства промышленного назначения. Часть 2. Требования к взаимозаменяемости размеров штырей и контактных гнезд соединителей | | Дата актуализации текста: | 01.01.2021 | | Дата актуализации описания: | 01.07.2023 | | Дата регистрации: | 06.11.2002 | | Дата издания: | 10.02.2014 | | Дата введения: | 01.01.2014 | | Дата окончания срока действия: | 01.07.2018 | | Заменяющий: | ГОСТ IEC 60309-2-2016 | | Содержит требования: | IEC 60309-2(1999) | | Нормативные ссылки: | ГОСТ 30849.1-2002 | | Область применения: | Настоящий стандарт распространяется на штепсельные соединители, кабельные соединители и вводные соединители промышленного назначения на номинальное рабочее напряжение не более 690 В постоянного и переменного тока частотой до 500 Гц и номинальный ток не более 125 А, применяемые для установки внутри и снаружи помещений | |
                                                                         
|