| Обозначение: |  ГОСТ Р 12.4.279-2012 |
| Статус: | отменён |
| Название рус.: | Система стандартов безопасности труда. Средства индивидуальной защиты органов дыхания. Рекомендации по выбору, применению и техническому обслуживанию |
| Дата актуализации текста: | 01.01.2021 |
| Дата актуализации описания: | 01.07.2023 |
| Дата издания: | 21.07.2014 |
| Дата введения: | 01.12.2013 |
| Дата окончания срока действия: | 01.06.2016 |
| Код ОКП: | 256890 |
| На территории РФ пользоваться: | ГОСТ 12.4.299-2015 |
| Нормативные ссылки: | ГОСТ Р 12.4.026-2001; ГОСТ Р 12.4.186-2012; ГОСТ Р 12.4.189-99; ГОСТ Р 12.4.190-99; ГОСТ Р 12.4.191-2011; ГОСТ Р 12.4.192-99; ГОСТ Р 12.4.194-99; ГОСТ Р 12.4.214-99; ГОСТ Р 12.4.216-99; ГОСТ Р 12.4.220-2012; ГОСТ Р 12.4.233-2012; ГОСТ Р 12.4.241-2007; ГОСТ Р 12.4.249-2009; ГОСТ Р 12.4.250-2009; ГОСТ Р 12.4.251-2009; ГОСТ Р 12.4.252-2009; ГОСТ Р 12.4.253-2011; ГОСТ Р 12.4.267-2012; ГОСТ Р 12.4.273-2012; ГОСТ Р 12.4.274-2012; ГОСТ Р 12.4.275-2012; ГОСТ Р 12.4.276.1-2012; ГОСТ Р 12.4.276.2-2012; ГОСТ Р 12.4.277-2012; ГОСТ Р 12.4.278-2012; ГОСТ Р ЕН 404-2011; ГОСТ Р ЕН 1827-2009; ГОСТ Р ЕН 12942/А1/А2-2010; ГОСТ Р ЕН 13274-1-2009; ГОСТ Р ЕН 14594-2011; ГОСТ Р 51897-2002; ГОСТ 2.601-2006; ГОСТ 12.0.230-2007; ГОСТ 12.1.005-88; ГОСТ 12.1.007-76; ГОСТ 12.4.034-2001; ГОСТ 12.4.217-2001; ГОСТ 6433.2-71 |
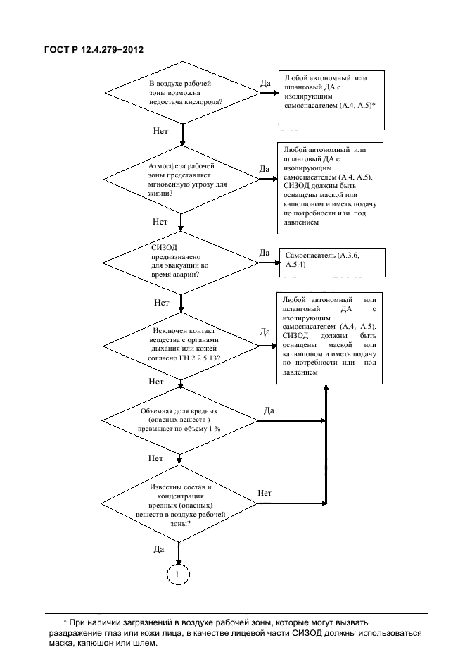
| Область применения: | Настоящий стандарт распространяется на средства индивидуальной защиты органов дыхания, предназначенные для применения в производственной сфере, и устанавливает рекомендации по их выбору и использованию. Настоящий стандарт может быть применен в качестве руководства по разработке и внедрению программы респираторной защиты на промышленных предприятиях и в других организациях, где используют СИЗОД. Настоящий стандарт не распространяется на СИЗОД: - военного назначения; - для защиты населения в чрезвычайных ситуациях природного и техногенного характера, за исключением аварий в производственной сфере; - для эвакуации при пожарах; - специально разработанные для подразделений пожарной охраны и обеспечивающих ликвидацию последствий чрезвычайных ситуаций природного и техногенного характера; - специально разработанные для эвакуации людей из зоны, зараженной отравляющими, бактериальными и радиоактивными веществами; - специально разработанные для применения в авиационной, космической технике и при подводных работах; - используемые в качестве образцов при проведении выставок и торговых ярмарок |
| Список изменений: | №0 от 31.05.2016 (рег. 23.06.2015) «Текстовое изменение; Изменено заглавие» |
|