| Обозначение: |  ГОСТ Р 54873-2011 |
| Статус: | действующий |
| Название рус.: | Полотна нетканые и изделия из них. Методы определения времени пропускания жидкости |
| Название англ.: | Nonwoven fabrics and products. Methods for determination of liquid strike-through time |
| Дата актуализации текста: | 06.04.2015 |
| Дата актуализации описания: | 01.07.2023 |
| Дата издания: | 23.11.2012 |
| Дата введения: | 01.01.2013 |
| Нормативные ссылки: | ISO 9073-8:1995; ГОСТ Р 52483-2005; ГОСТ 8.423-81; ГОСТ 427-75; ГОСТ 1770-74; ГОСТ 4233-77; ГОСТ 6709-72; ГОСТ 10681-75; ГОСТ 12026-76; ГОСТ 13587-77; ГОСТ 25336-82 |
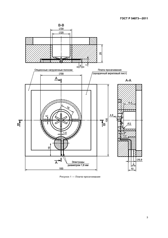
| Область применения: | Настоящий стандарт распространяется на метод определения времени пропускания жидкости (искусственной мочи) нетканых полотен и изделий из них. Метод пригоден для сравнительных испытаний нетканых полотен различных типов и структур и изделий из них. Метод не моделирует условия использования готовых изделий. Стандарт устанавливает метод лабораторного определения времени пропускания жидкости нетканых полотен, используемых в женских гигиенических прокладках (пакетах) и других изделиях санитарно–гигиенического назначения. Сущность метода заключается в измерении времени, затраченного жидкостью, имитирующей мочу, для проникновения через испытуемые нетканые материалы и изделия из них, которые помещены на абсорбирующую подушку, при заданных условиях и скорости |
|