| Обозначение: |  ГОСТ 30830-2002 |
| Статус: | действующий |
| Название рус.: | Трансформаторы силовые. Часть 1. Общие положения |
| Название англ.: | Power transformers. Part 1. General |
| Дата актуализации текста: | 06.04.2015 |
| Дата актуализации описания: | 01.07.2023 |
| Дата регистрации: | 06.11.2002 |
| Дата издания: | 19.06.2003 |
| Дата введения: | 01.01.2004 |
| Код ОКП: | 341400 |
| Содержит требования: | IEC 60076-1(1993) |
| Нормативные ссылки: | ГОСТ 12.2.024-87; ГОСТ 1516.2-97; ГОСТ 1516.3-96; ГОСТ 3484.1-88; ГОСТ 3484.2-88; ГОСТ 8865-93; ГОСТ 9680-77; ГОСТ 9920-89; ГОСТ 11677-85; ГОСТ 14209-97; ГОСТ 15150-69; ГОСТ 15543.1-89; ГОСТ 16110-82; ГОСТ 24687-81 |
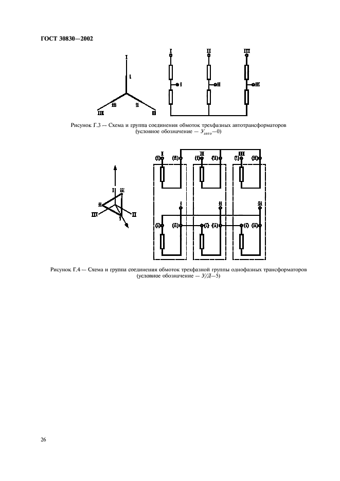
| Область применения: | Настоящий стандарт распространяется на трехфазные и однофазные силовые трансформаторы (в т.ч. автотрансформаторы), за исключением некоторых видов маломощных и специальных трансформаторов, а именно: - однофазных трансформаторов номинальной мощностью менее 1 кВ.А и трехфазных трансформаторов номинальной мощностью менее 5 кВ.А; - измерительных трансформаторов; - трансформаторов для статических преобразователей; - тяговых трансформаторов, установленных на подвижном составе; - пусковых трансформаторов; - испытательных трансформаторов; - сварочных трансформаторов. Требования настоящего стандарта могут применяться для указанных выше видов трансформаторов, если на них нет отдельных стандартов или нормативных документов. Для тех видов силовых трансформаторов, на которые имеются отдельные НД, настоящий стандарт распространяется только в той области, которая указана в этих стандартах |
|