| Обозначение: |  ГОСТ Р 51507-99 |
| Статус: | действующий |
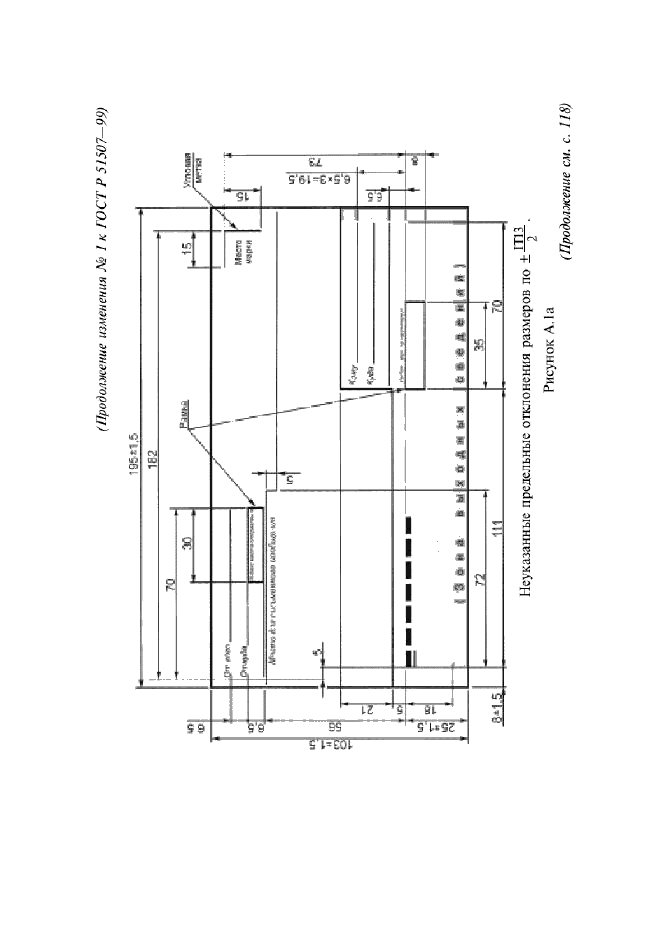
| Название рус.: | Карточки почтовые. Технические требования. Методы контроля |
| Название англ.: | Post cards. Technical requirements. Control methods |
| Дата актуализации текста: | 06.04.2015 |
| Дата актуализации описания: | 01.07.2023 |
| Дата издания: | 01.12.2004 |
| Дата введения: | 01.07.2000 |
| Код ОКП: | 957500 |
| Нормативные ссылки: | ISO 328:1974; ГОСТ 166-89; ГОСТ 427-75; ГОСТ 3489.33-72; ГОСТ 8074-82; ГОСТ 8273-75; ГОСТ 9094-89; ГОСТ 14192-96; ГОСТ 15150-69; ГОСТ 17308-88; ГОСТ 18251-87; ГОСТ 18321-73; ГОСТ 19344-73; ГОСТ 21444-75; ГОСТ 25706-83; ГОСТ Р 50779.71-99 |
| Область применения: | Настоящий стандарт распространяется на карточки почтовые, предназначенные для пересылки письменных сообщений |
| Список изменений: | №1 от 31.05.2004 (рег. 13.01.2004) «Текстовое изменение; Изменены ссылочные НД; Изменен код ОКС» |
| Приложение №1: | Изменение №1 к ГОСТ Р 51507-99 |
|