| Обозначение: |  ГОСТ Р 53617-2009 |
| Статус: | действующий |
| Название рус.: | Щетки электрических машин. Конструкция. Типы и размеры |
| Название англ.: | Carbon brushes for electrical machines. Construction. Types and dimensions |
| Дата актуализации текста: | 06.04.2015 |
| Дата актуализации описания: | 01.07.2023 |
| Дата издания: | 24.01.2011 |
| Дата введения: | 01.01.2011 |
| Код ОКП: | 349500;349600 |
| Нормативные ссылки: | ГОСТ 2.308-79; ГОСТ 1050-88; ГОСТ 1173-2006; ГОСТ 2208-2007; ГОСТ 2789-73; ГОСТ 5632-72; ГОСТ 12232-89; ГОСТ 15527-2004; ГОСТ 18620-86; ГОСТ 19904-90; ГОСТ 21888-82; ГОСТ 21930-76; ГОСТ 21931-76 |
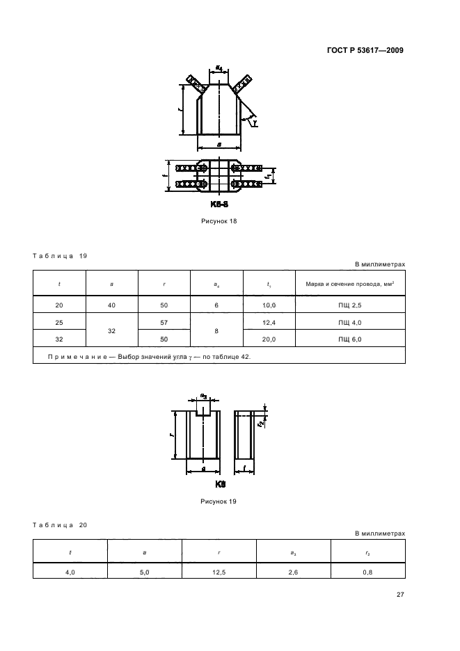
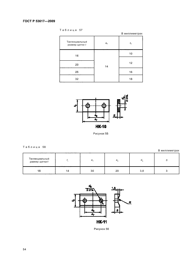
| Область применения: | Настоящий стандарт распространяется на щетки, применяемые для подвода и отвода тока на коллекторах и контактных кольцах электрических машин, а также на накладки и наконечники, применяемые для армирования щеток. Стандарт устанавливает конструкции, типы и размеры щеток, накладок и наконечников. Стандарт не распространяется на щетки, накладки и наконечники, применяемые в электрических машинах военной техники |
|