Скачать ГОСТ Р ИСО 10303-508-2009 Системы автоматизации производства и их интеграция. Представление данных об изделии и обмен этими данными. Часть 508. Прикладные интерпретированные конструкции. Многосвязные поверхностиДата актуализации: 01.06.2025 ГОСТ Р ИСО 10303-508-2009
Системы автоматизации производства и их интеграция. Представление данных об изделии и обмен этими данными. Часть 508. Прикладные интерпретированные конструкции. Многосвязные поверхности
| Обозначение: |  ГОСТ Р ИСО 10303-508-2009 |
| Статус: | действующий |
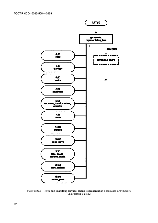
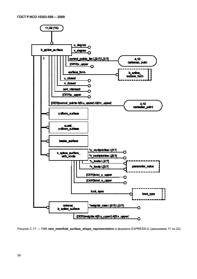
| Название рус.: | Системы автоматизации производства и их интеграция. Представление данных об изделии и обмен этими данными. Часть 508. Прикладные интерпретированные конструкции. Многосвязные поверхности | | Название англ.: | Industrial automation systems and integration. Product data representation and exchange. Part 508. Application interpreted construct. Non-manifold surface | | Дата актуализации текста: | 06.04.2015 | | Дата актуализации описания: | 01.07.2023 | | Дата издания: | 06.04.2020 | | Дата введения: | 01.07.2010 | | Аутентичен стандартам: | ISO 10303-508:2001 | | Нормативные ссылки: | ISO/IEC 8824-1:1998;ISO 10303-1:1994;ISO 10303-11:1994;ISO 10303-41:1994;ISO 10303-42:1994;ISO 10303-43:1994;ISO 10303-202:1996;ISO 10303-511:2001 | | Область применения: | Настоящий стандарт определяет интерпретацию интегрированных ресурсов, обеспечивающую соответствие требованиям к представлению геометрических форм посредством моделей многосвязных поверхностей. Требования настоящего стандарта распространяются на: - трехмерные точки; - точки, определенные в параметрическом пространстве кривых или поверхностей; - трехмерные кривые; - кривые, определенные в параметрическом пространстве поверхностей; - элементарные кривые: линию, окружность, эллипс, параболу, гиперболу; - кривые пересечений; - полилинии, состоящие, по крайней мере, из трех точек; - поверхности; - элементарные поверхности: плоскость, цилиндр, конус, тор, сферу; - криволинейные поверхности, полученные вращением или линейной экструзией кривой; - рельефные кривые и поверхности; - обрезание кривых и поверхностей с использованием топологических объектов; - композицию кривых и поверхностей с использованием топологических объектов; - копирование кривых, поверхностей и моделей поверхностей; - трехмерные смещения кривых и поверхностей; - многосвязные объекты | |
                                                
|