| Обозначение: |  ГОСТ Р 53307-2009 |
| Статус: | действующий |
| Название рус.: | Конструкции строительные. Противопожарные двери и ворота. Метод испытаний на огнестойкость |
| Название англ.: | Elements of building constructions. Fire doors and gates. Fire resistance test method |
| Дата актуализации текста: | 01.01.2021 |
| Дата актуализации описания: | 01.07.2023 |
| Дата издания: | 12.07.2019 |
| Дата введения: | 01.05.2009 |
| Взамен: | ГОСТ 30247.2-97 |
| Нормативные ссылки: | ГОСТ 12.1.004-91; ГОСТ 12.1.019-79; ГОСТ 30247.0-94; ГОСТ 30247.1-94 |
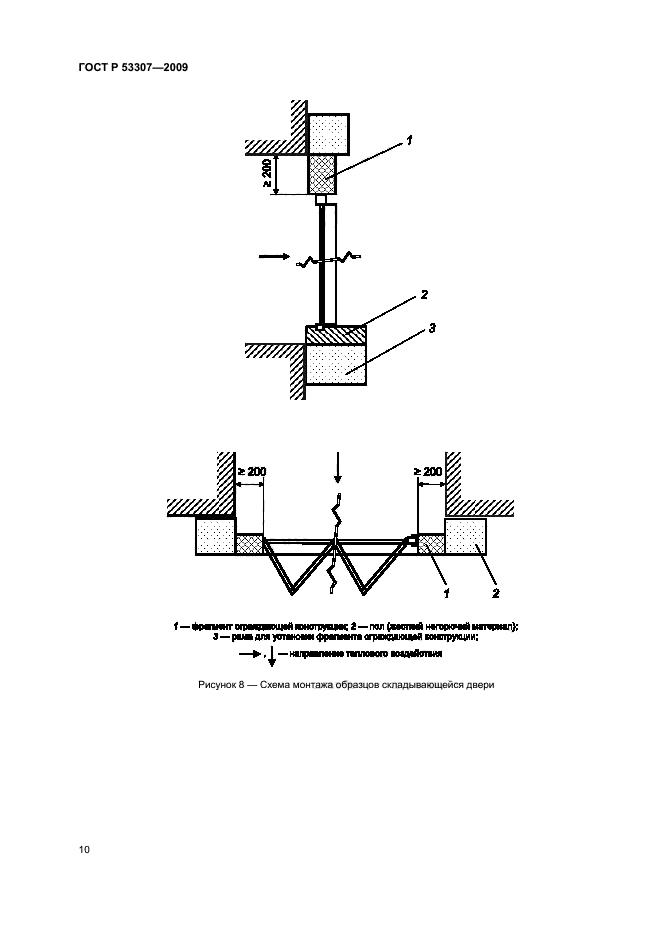
| Область применения: | Настоящий стандарт устанавливает метод испытания на огнестойкость различных типов дверей, ворот и люков, предназначенных для заполнения проемов в противопожарных преградах. Стандарт может применяться при проведении сертификационных испытаний данной продукции. Настоящий стандарт не распространяется на испытания: - дверей с площадью светопрозрачного заполнения 25 % и более от площади дверного проема в свету; - дверей, ворот и люков на дымо- и газопроницаемость; - дверей шахт лифтов; - клапанов и инженерного оборудования зданий; - конструкций заполнения проемов при прохождении через них конвейеров и транспортных лент |
|