| Обозначение: |  ГОСТ 22558-89 |
| Статус: | действующий |
| Название рус.: | |
| Дата актуализации текста: | 06.04.2015 |
| Дата актуализации описания: | 01.01.2021 |
| Дата издания: | 05.11.1991 |
| Дата введения: | 01.01.1991 |
| Взамен: | ГОСТ 22558-77 |
| Содержит требования: | ISO 1989:1985;СТ СЭВ 6184-88 |
| Нормативные ссылки: | ГОСТ 22558-77 |
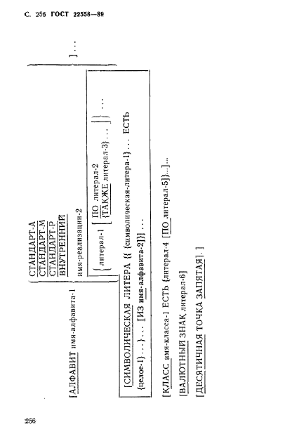
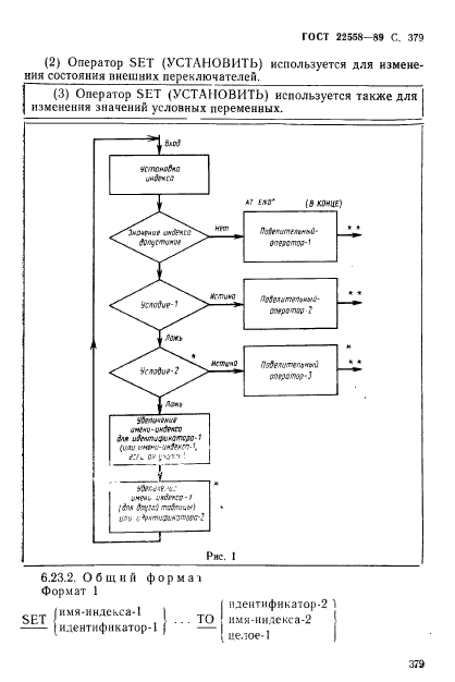
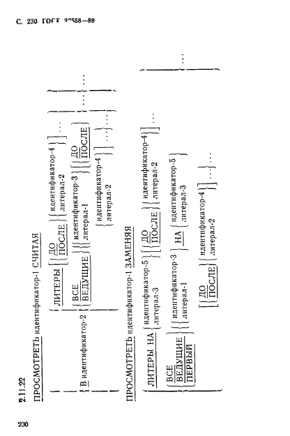
| Область применения: | Настоящий стандарт распространяется на форму и интерпретацию программ, выраженных в русской или английской нотации языка Кобол. Он предназначен для обеспечения высокой степени машинной независимости Кобол-программ и их совместимости в различных системах автоматической обработки данных |
|