| Обозначение: |  ГОСТ 5089-97 |
| Статус: | заменён |
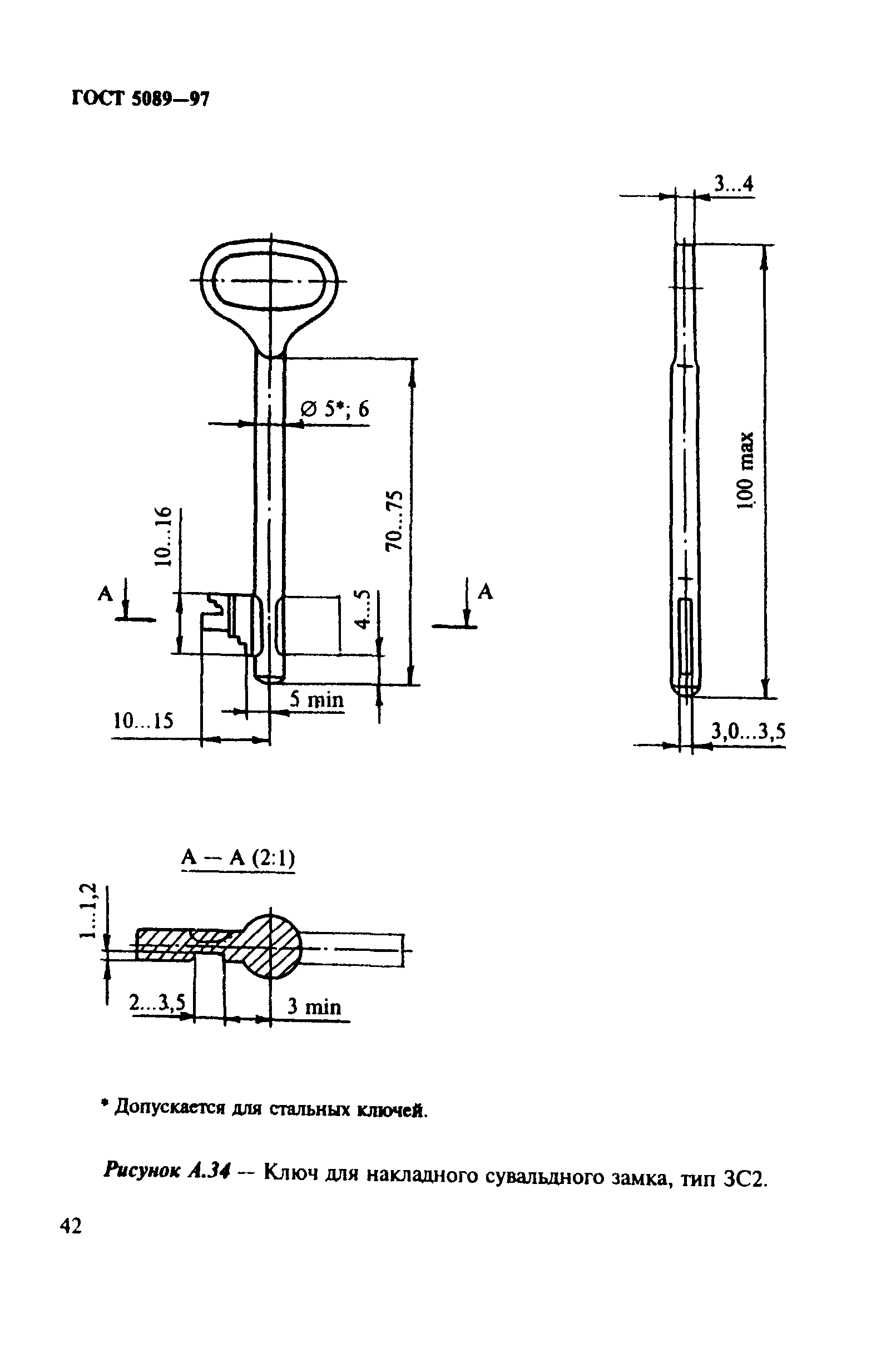
| Название рус.: | Замки и защелки для дверей. Технические условия |
| Название англ.: | Locks and latches for doors. Specifications |
| Дата актуализации текста: | 06.04.2015 |
| Дата актуализации описания: | 01.07.2023 |
| Дата регистрации: | 23.04.1997 |
| Дата издания: | 04.12.1997 |
| Дата введения: | 01.01.1998 |
| Дата окончания срока действия: | 01.03.2004 |
| Код ОКП: | 498100 |
| Взамен: | ГОСТ 5089-90 |
| Заменяющий: | ГОСТ 5089-2003 |
| Нормативные ссылки: | ГОСТ 9.303-84; ГОСТ 538-88; ГОСТ 1145-80; ГОСТ 1146-80; ГОСТ 17474-80; ГОСТ 17475-80; ГОСТ 19091-82; ГОСТ 23306-87 |
| Область применения: | Настоящий стандарт распространяется на замки и защелки для дверей, применяемых в жилых и общественных зданиях |
|