| Обозначение: |  ГОСТ 28889-90 |
| Статус: | не действует в РФ |
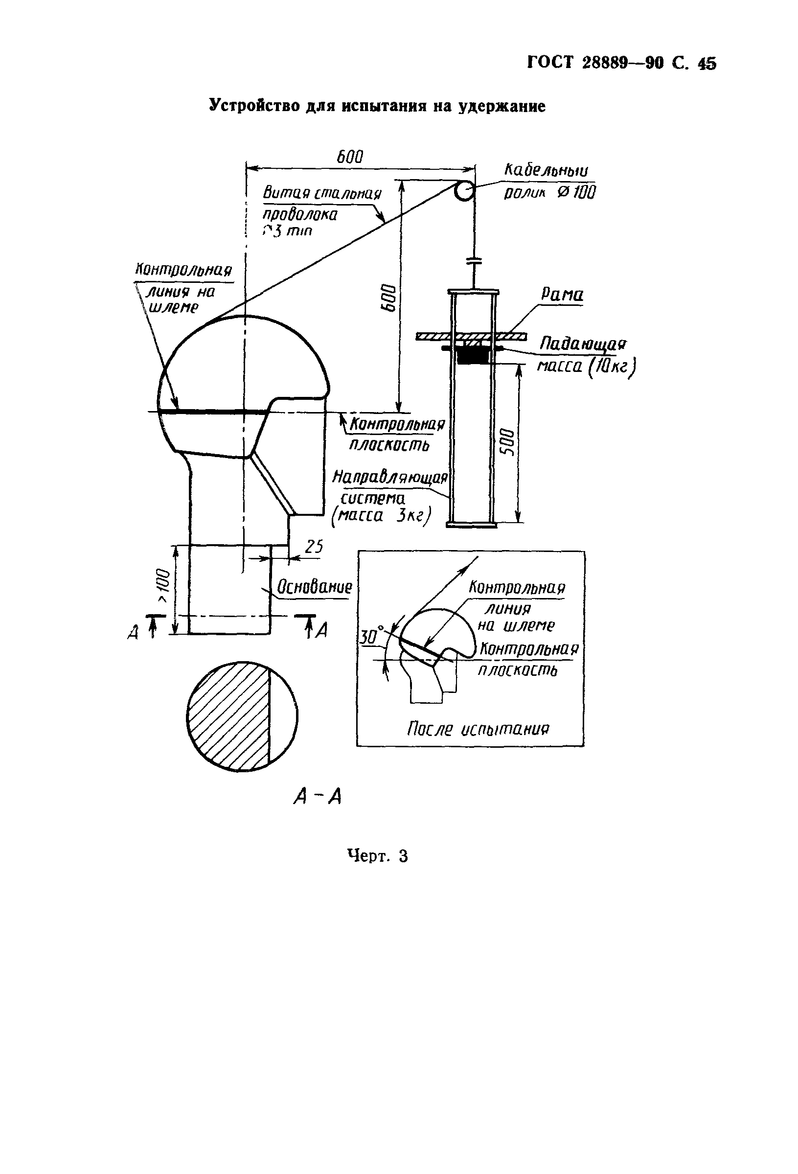
| Название рус.: | Шлемы защитные для водителей и пассажиров мотоциклов и мопедов. Единые требования для официального утверждения |
| Название англ.: | Protective helmets for drivers and passengers of motor cycles and mopeds. Uniform requirements for official approval |
| Дата актуализации текста: | 06.04.2015 |
| Дата актуализации описания: | 01.07.2023 |
| Дата издания: | 26.04.1991 |
| Дата введения: | 01.07.1991 |
| Дата окончания срока действия: | 01.01.2002 |
| Код ОКП: | 229345 |
| Содержит требования: | Правила EEC UN № 22 |
| Список изменений: | №0 от 01.01.2002 (рег. 28.03.2001) «Поправка к изменению» |
|