| Обозначение: |  ГОСТ 28795-90 |
| Статус: | не действует в РФ |
| Название рус.: | Мука пшеничная. Физические характеристики теста. Определение реологических свойств с помощью альвеографа |
| Название англ.: | Wheat flour. Physical characteristics of doughs. Determination of rheological properties using an alveograph |
| Дата актуализации текста: | 06.04.2015 |
| Дата актуализации описания: | 01.07.2023 |
| Дата издания: | 01.06.1997 |
| Дата введения: | 01.07.1991 |
| Дата окончания срока действия: | 01.03.2001 |
| Код ОКП: | 919520 |
| Содержит требования: | ISO 5530-4:1983 |
| На территории РФ пользоваться: | ГОСТ Р 51415-99 |
| Нормативные ссылки: | ГОСТ 27493-87; ГОСТ 9404-88; ГОСТ 27668-88 |
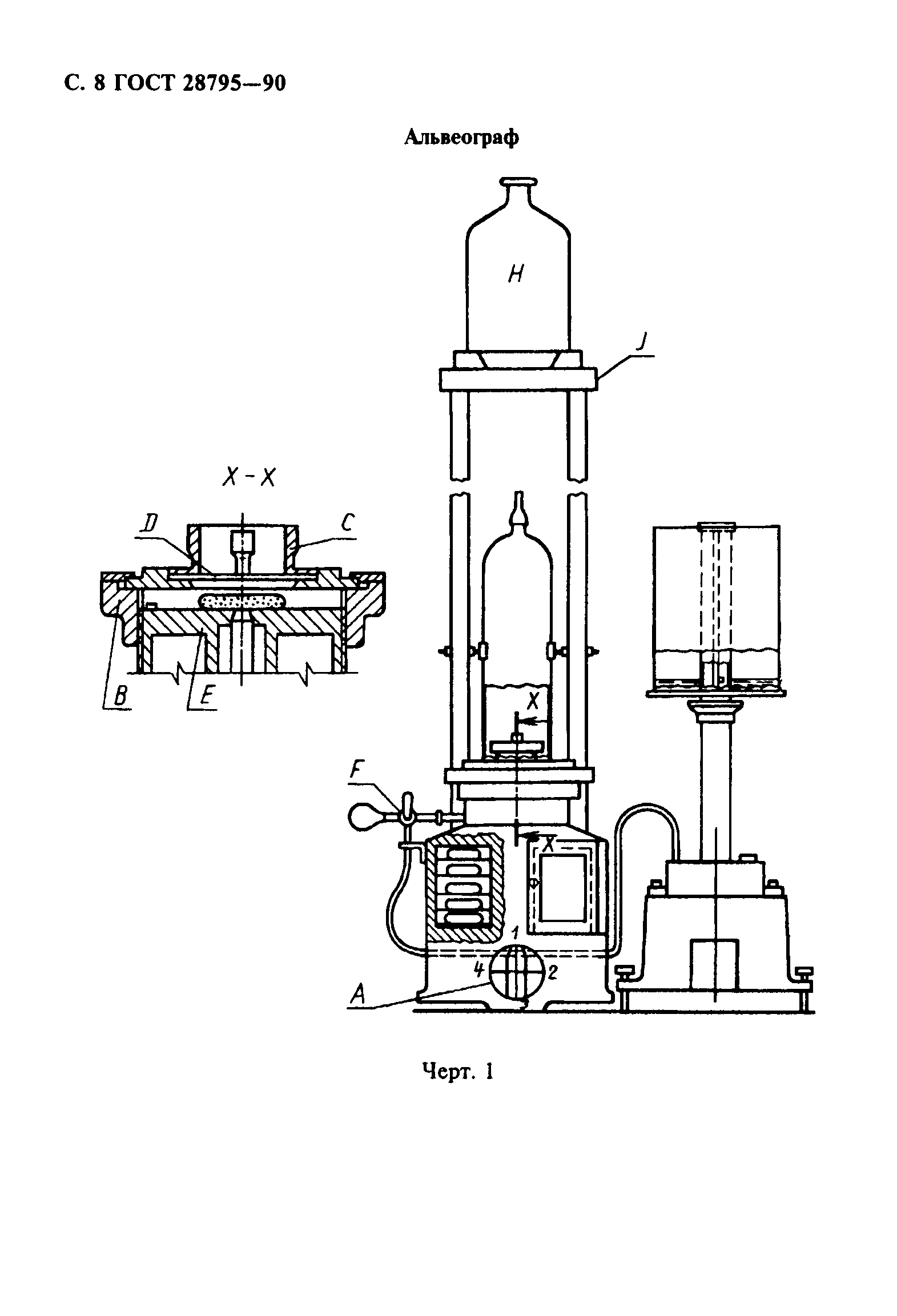
| Область применения: | Настоящий стандарт устанавливает метод, использующий альвеограф для определения реологических свойств теста из пшеничной муки и используется в экспортно-импортных операциях, а также в научно-исследовательских работах |
| Список изменений: | №0 от 01.03.2001 (рег. 22.12.1999) «Поправка к изменению» |
|