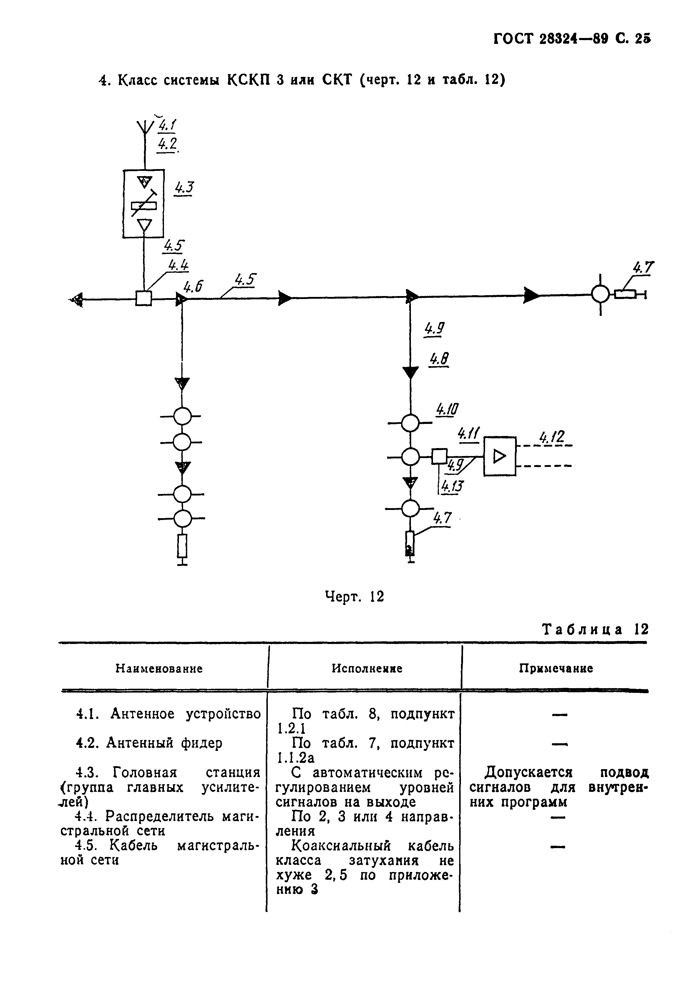
| Обозначение: |  ГОСТ 28324-89 |
| Статус: | не действует в РФ |
| Название рус.: | Сети распределительные приемных систем телевидения и радиовещания. Классификация приемных систем, основные параметры и технические требования |
| Название англ.: | Distribution networks of receiving TV and radio systems. Classification of receiving systems, basic parameters and technical requirements |
| Дата актуализации текста: | 06.04.2015 |
| Дата актуализации описания: | 01.07.2023 |
| Дата издания: | 01.01.1990 |
| Дата введения: | 01.01.1991 |
| Дата окончания срока действия: | 01.07.2003 |
| Код ОКП: | 650100 |
| Содержит требования: | СТ СЭВ 6423-88 |
| На территории РФ пользоваться: | ГОСТ Р 52023-2003 |
| Нормативные ссылки: | ГОСТ 12.2.006-87 |
| Список изменений: | №0 от 30.06.2003 (рег. 13.03.2003) «Поправка к изменению» |
|