| Обозначение: |  ГОСТ 28070-89 |
| Статус: | не действует в РФ |
| Название рус.: | Автомобили легковые и грузовые, автобусы. Обзорность с места водителя. Общие технические требования. Методы испытаний |
| Название англ.: | Passenger cars, trucks and buses. Visibility from the driver“s seat. General technical requirements. Test methods |
| Дата актуализации текста: | 06.04.2015 |
| Дата актуализации описания: | 01.07.2023 |
| Дата издания: | 27.06.1989 |
| Дата введения: | 01.01.1990 |
| Дата окончания срока действия: | 01.01.2000 |
| Код ОКП: | 451000 |
| Взамен: | ГОСТ 22734-77; ГОСТ 22893-77 |
| Нормативные ссылки: | ISO 4513; ГОСТ 15150-69;ЕЭС 77/649;ЕЭС 78/318 |
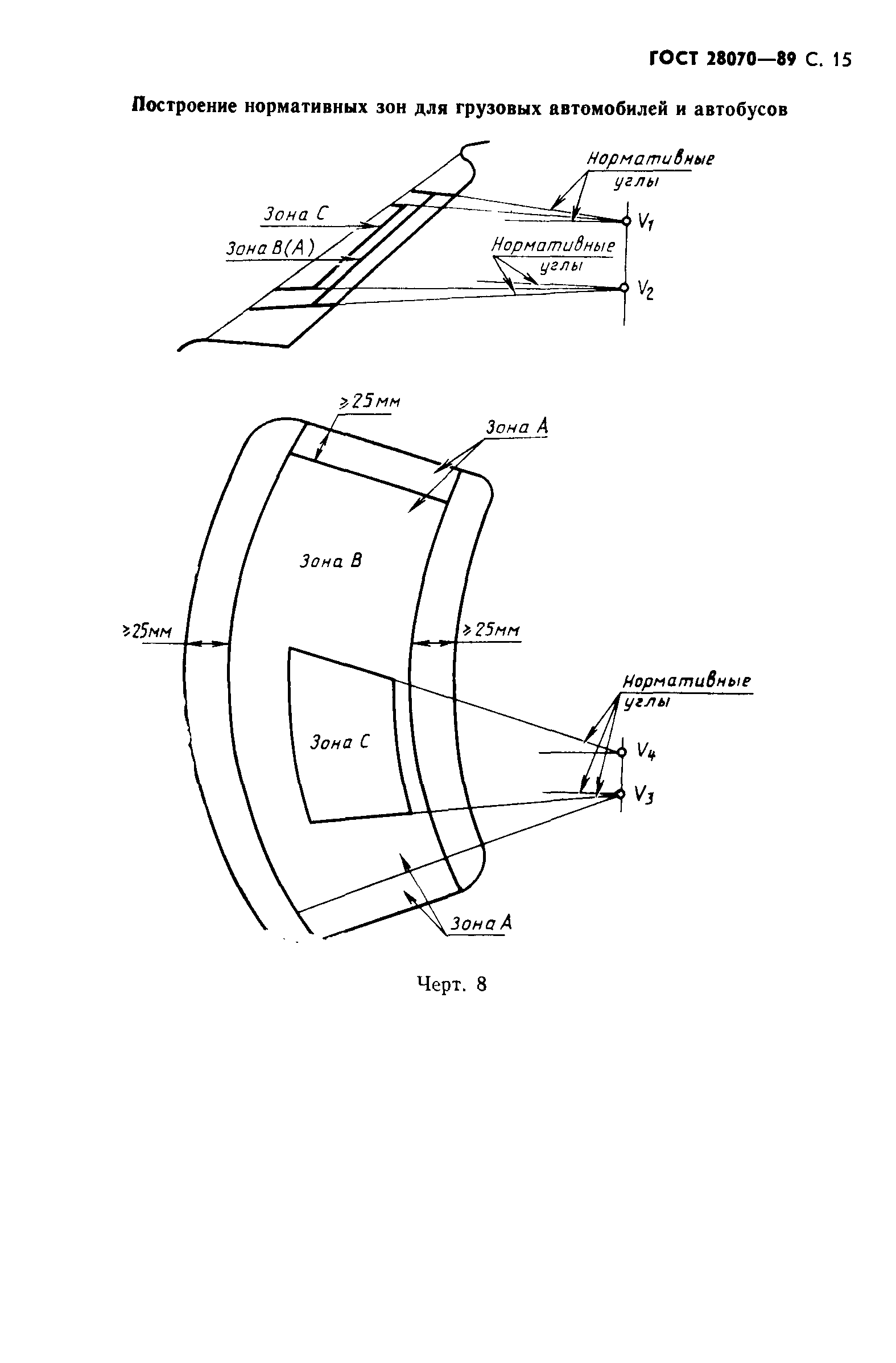
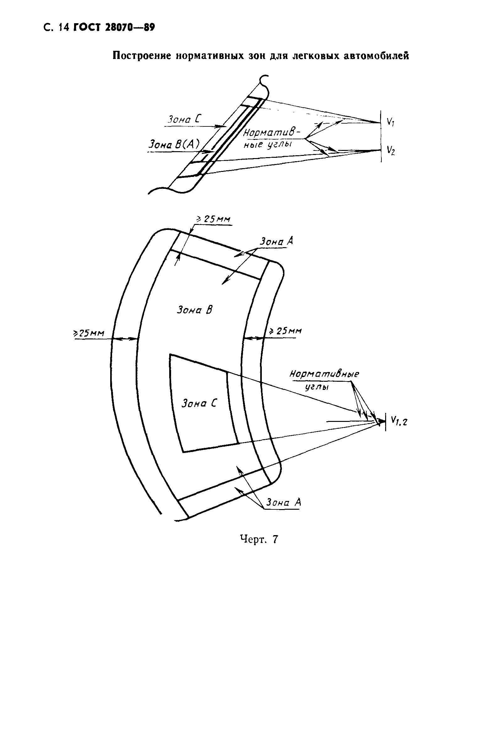
| Область применения: | Настоящий стандарт распространяется на легковые и грузовые автомобили, автобусы, в том числе троллейбусы и устанавливает общие технические требования и методы испытаний в части передней обзорности с места водителя. Стандарт не распространяется на легковые автомобили высшего класса, грузовые автомобили с двумя, тремя и одной одноместной кабиной, автобусы, спроектированные на шасси грузовых автомобилей, карьерные самосвалы и автомобили многоцелевого назначения. Для автомобилей исполнения Т и ХЛ по ГОСТ 15150 допускаются изменения значений показателей обзорности, указанные в техническом задании |
| Список изменений: | №0 от 01.01.2000 (рег. 20.04.1999) «Поправка к изменению» |
|