| Обозначение: |  ГОСТ 27320-87 |
| Статус: | не действует в РФ |
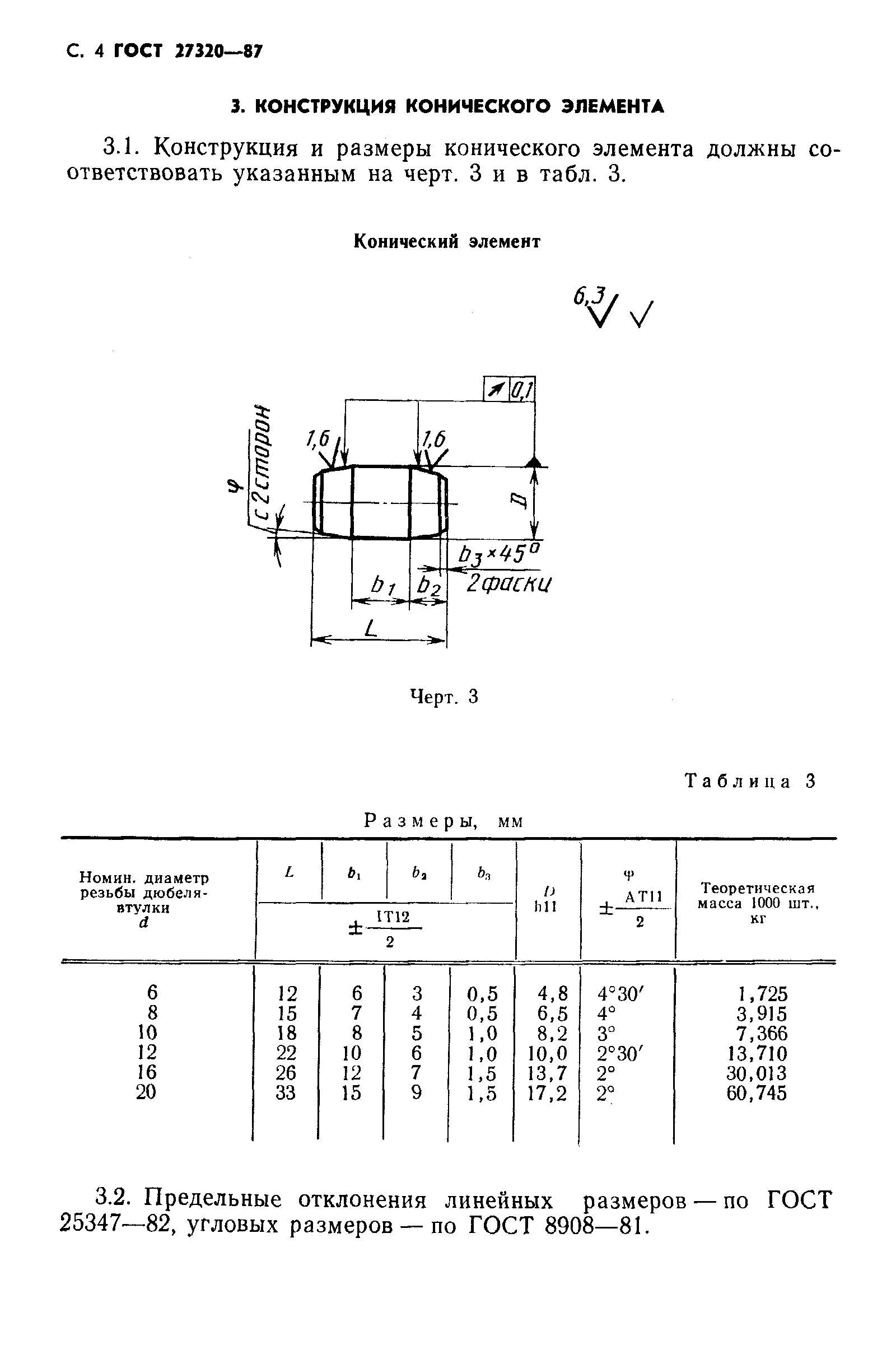
| Название рус.: | Дюбели-втулки распорные для строительства. Конструкция |
| Название англ.: | Expansive bolts. Construction |
| Дата актуализации текста: | 06.04.2015 |
| Дата актуализации описания: | 01.07.2023 |
| Дата издания: | 02.09.1987 |
| Дата введения: | 01.01.1988 |
| Дата окончания срока действия: | 01.07.1995 |
| Код ОКП: | 483411 |
| Нормативные ссылки: | ГОСТ 25347-82; ГОСТ 24705-81; ГОСТ 8724-81; ГОСТ 16093-81; ГОСТ 10549-80; ГОСТ 1050-74; ГОСТ 1414-75; ГОСТ 9.306-85; ГОСТ 8908-81 |
| Список изменений: | №0 от 01.07.1995 (рег. 07.04.1995) «Поправка к изменению» |
|