| Обозначение: |  ГОСТ 26969-86 |
| Статус: | заменён |
| Название рус.: | Диафрагмы стандартные для расходомеров. Технические условия |
| Название англ.: | Standard orifice plates for flowmeters. Specifications |
| Дата актуализации текста: | 06.04.2015 |
| Дата актуализации описания: | 01.07.2023 |
| Дата издания: | 01.12.1985 |
| Дата введения: | 01.07.1987 |
| Дата окончания срока действия: | 01.10.1999 |
| Код ОКП: | 421292 |
| Взамен: | ГОСТ 14321-73; ГОСТ 14322-77 |
| Заменяющий в части: | ГОСТ 8.563.1-97 (части не конкретизированы); ГОСТ 8.563.2-97 (части не конкретизированы); ГОСТ 8.563.3-97 (части не конкретизированы) |
| Нормативные ссылки: | ISO 5167:1980;ISO 5167:1980; ГОСТ 2.601-68; ГОСТ 15150-69 |
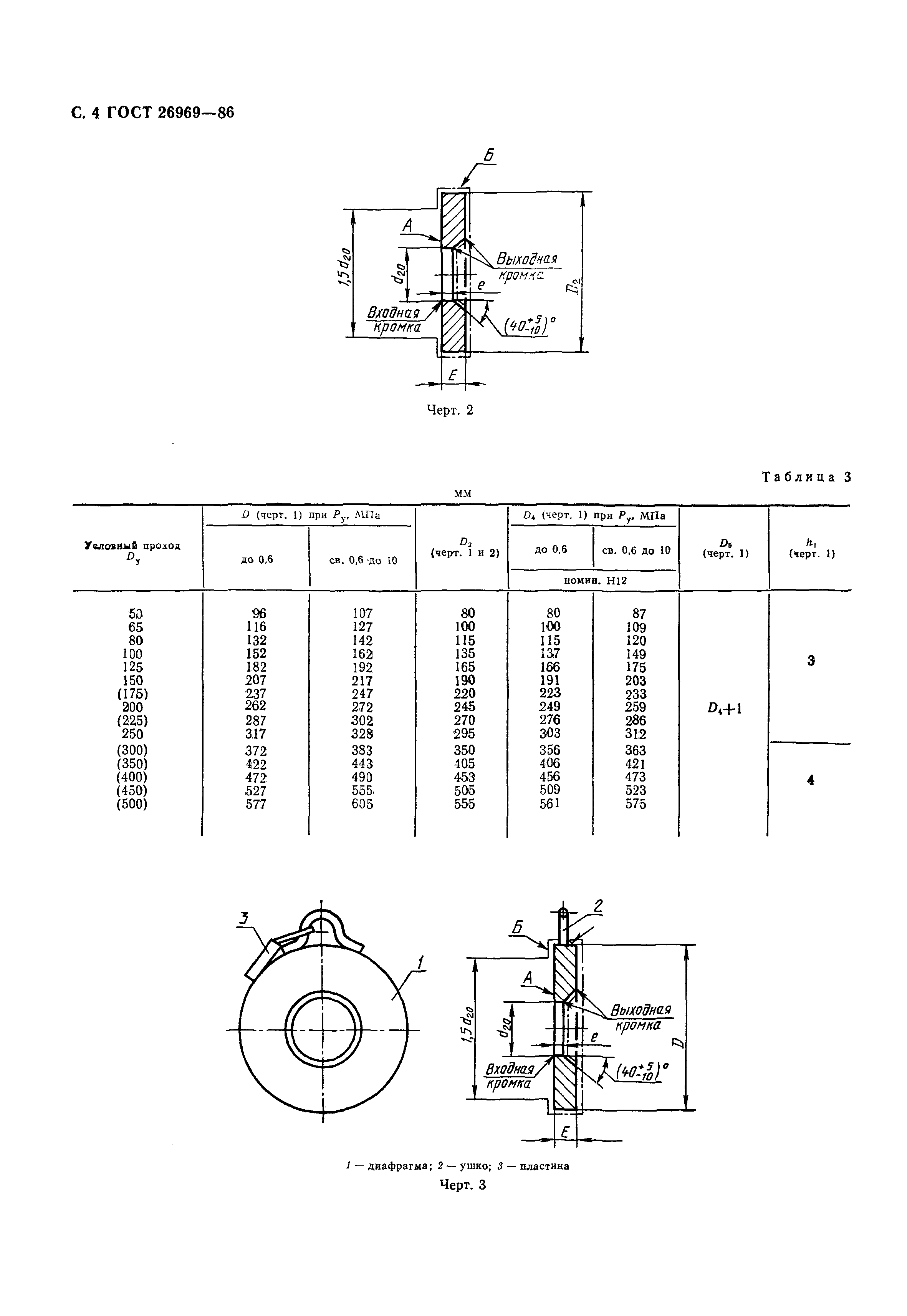
| Область применения: | Настоящий стандарт распространяется на стандартные диафрагмы с условным давлением до 32 МПа (320 кгс/см кв.) и условным проходом от 50 до 3000 мм, предназначенные для измерения расхода жидкостей и газов методом переменного перепада давления |
| Список изменений: | №1 от 01.05.1989 (рег. 08.12.1988) «Поправка» №2 от 01.10.1992 (рег. 04.03.1992) «Срок действия продлен» |
|