| Обозначение: |  ГОСТ 26586-85 |
| Статус: | заменён |
| Название рус.: | Бутылки стеклянные для пищевых жидкостей, поставляемых для экспорта. Технические условия |
| Название англ.: | Glass bottles for food liquids supplied for export. Specifications |
| Дата актуализации текста: | 06.04.2015 |
| Дата актуализации описания: | 01.01.2021 |
| Дата издания: | 10.10.1985 |
| Дата введения: | 01.01.1987 |
| Дата окончания срока действия: | 01.01.2003 |
| Код ОКП: | 598711 |
| Заменяющий в части: | ГОСТ 10117.1-2001 в части разд. 2 - 5; ГОСТ 10117.2-2001 в части разд. 1 |
| Нормативные ссылки: | ГОСТ 10117-80;СТ СЭВ 824-77 |
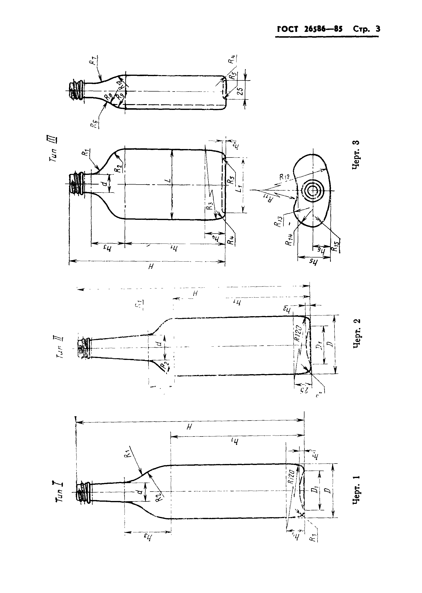
| Область применения: | Настоящий стандарт распространяется на стеклянные бутылки, предназначенные для пищевых жидкостей, поставляемых на экспорт |
| Список изменений: | №1 от 01.03.1990 (рег. 07.09.1989) «Срок действия продлен» |
|