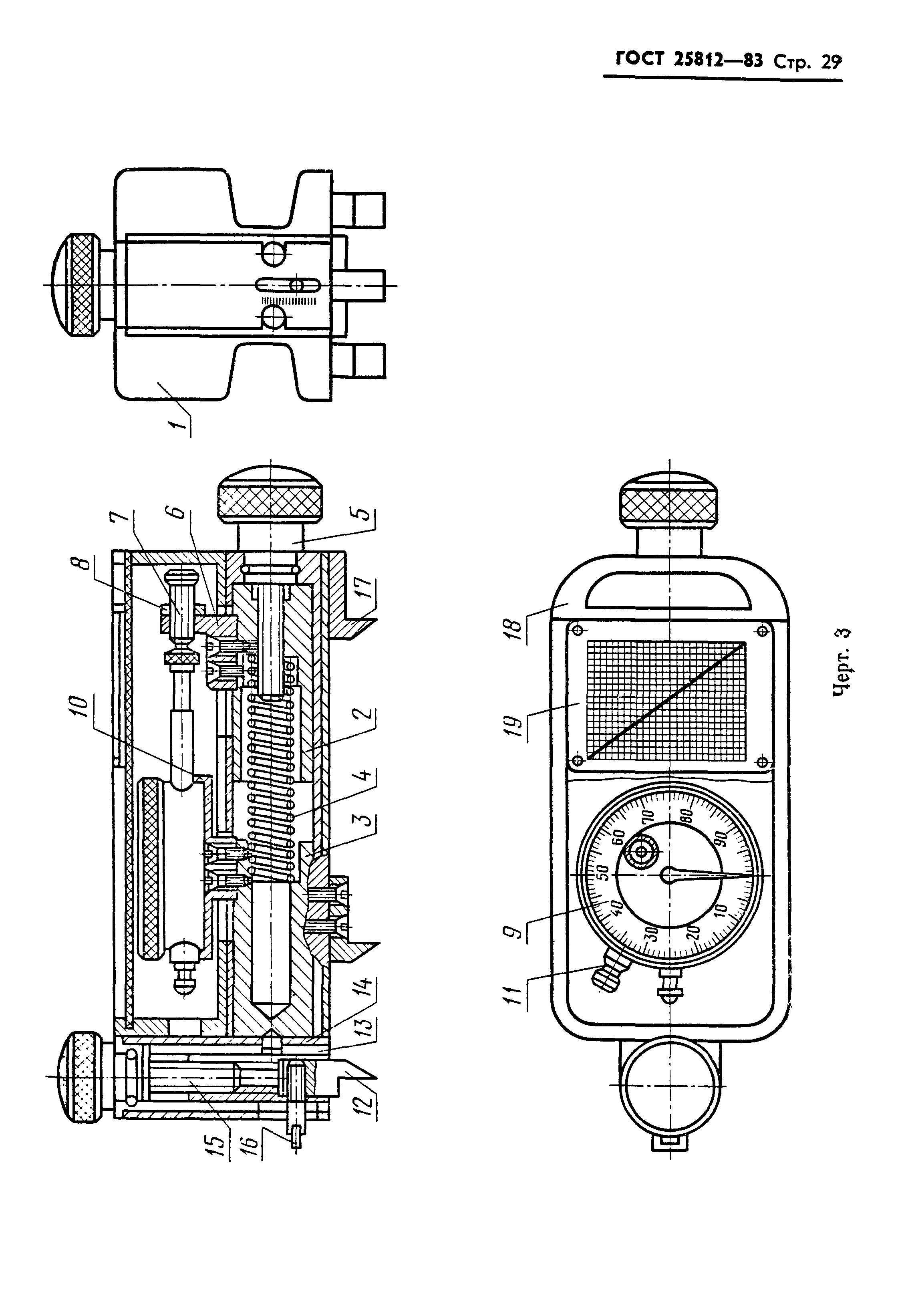
| Обозначение: |  ГОСТ 25812-83 |
| Статус: | не действует в РФ |
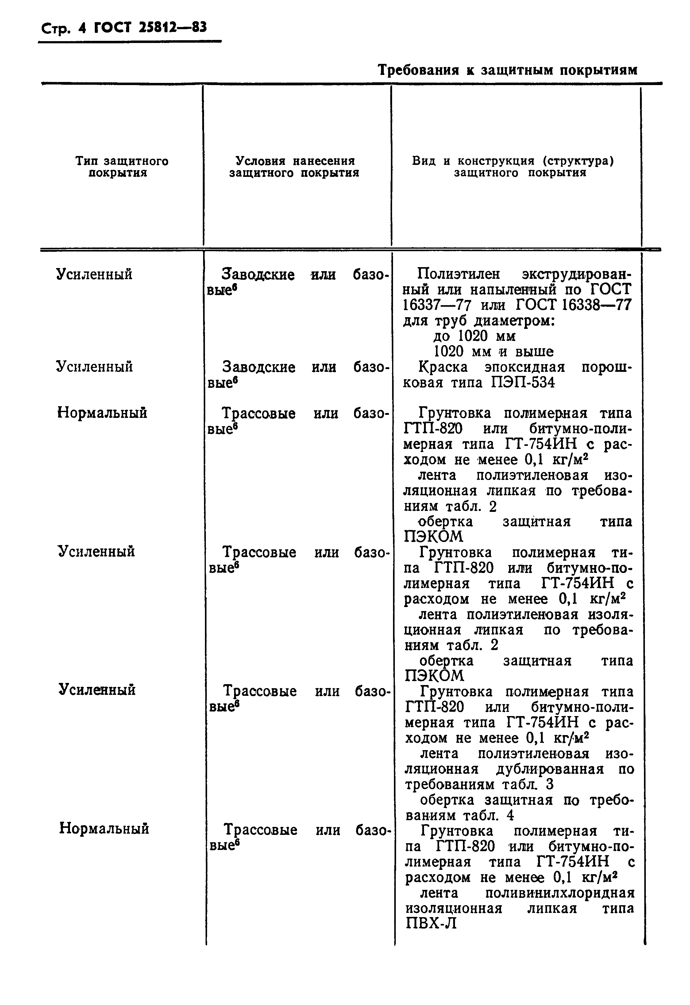
| Название рус.: | Трубопроводы стальные магистральные. Общие требования к защите от коррозии |
| Название англ.: | Steel pipe mains. General requirements for corrosion protection |
| Дата актуализации текста: | 06.04.2015 |
| Дата актуализации описания: | 01.07.2023 |
| Дата издания: | 01.01.1983 |
| Дата введения: | 01.01.1984 |
| Дата окончания срока действия: | 01.07.1999 |
| Код ОКП: | 000900 |
| Содержит требования: | СТ СЭВ 5291-85 |
| На территории РФ пользоваться: | ГОСТ Р 51164-98 |
| Список изменений: | №0 от 30.06.1999 (рег. 22.04.1998) «Поправка к изменению» №0 от 17.06.1988 (рег. 16.06.1988) «Срок действия продлен» №1 от 01.01.1987 (рег. 20.10.1986) «Срок действия продлен» №2 от 01.01.1988 (рег. 25.06.1987) «Срок действия продлен» |
|