| Обозначение: |  ГОСТ 25809-83 |
| Статус: | заменён |
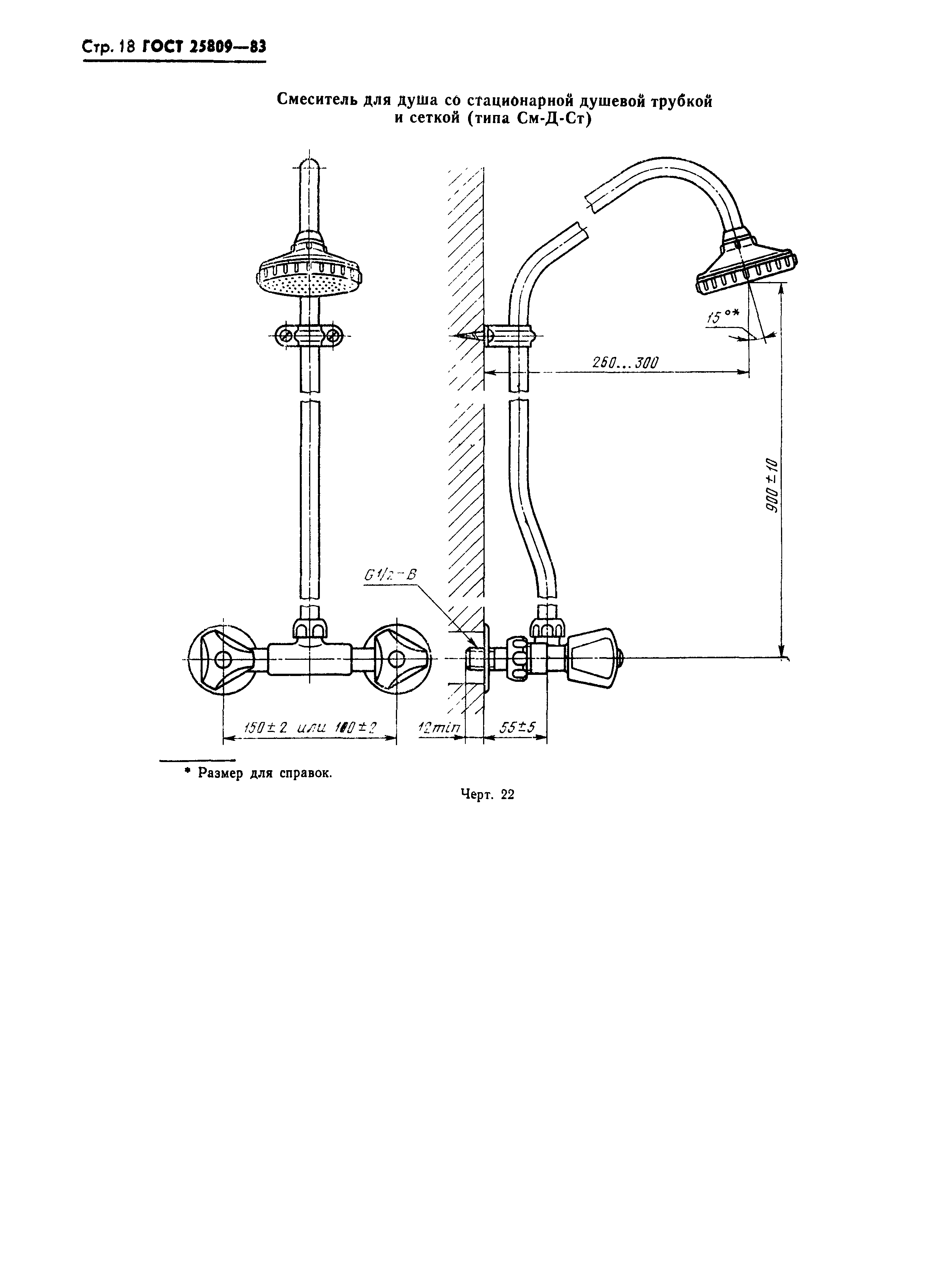
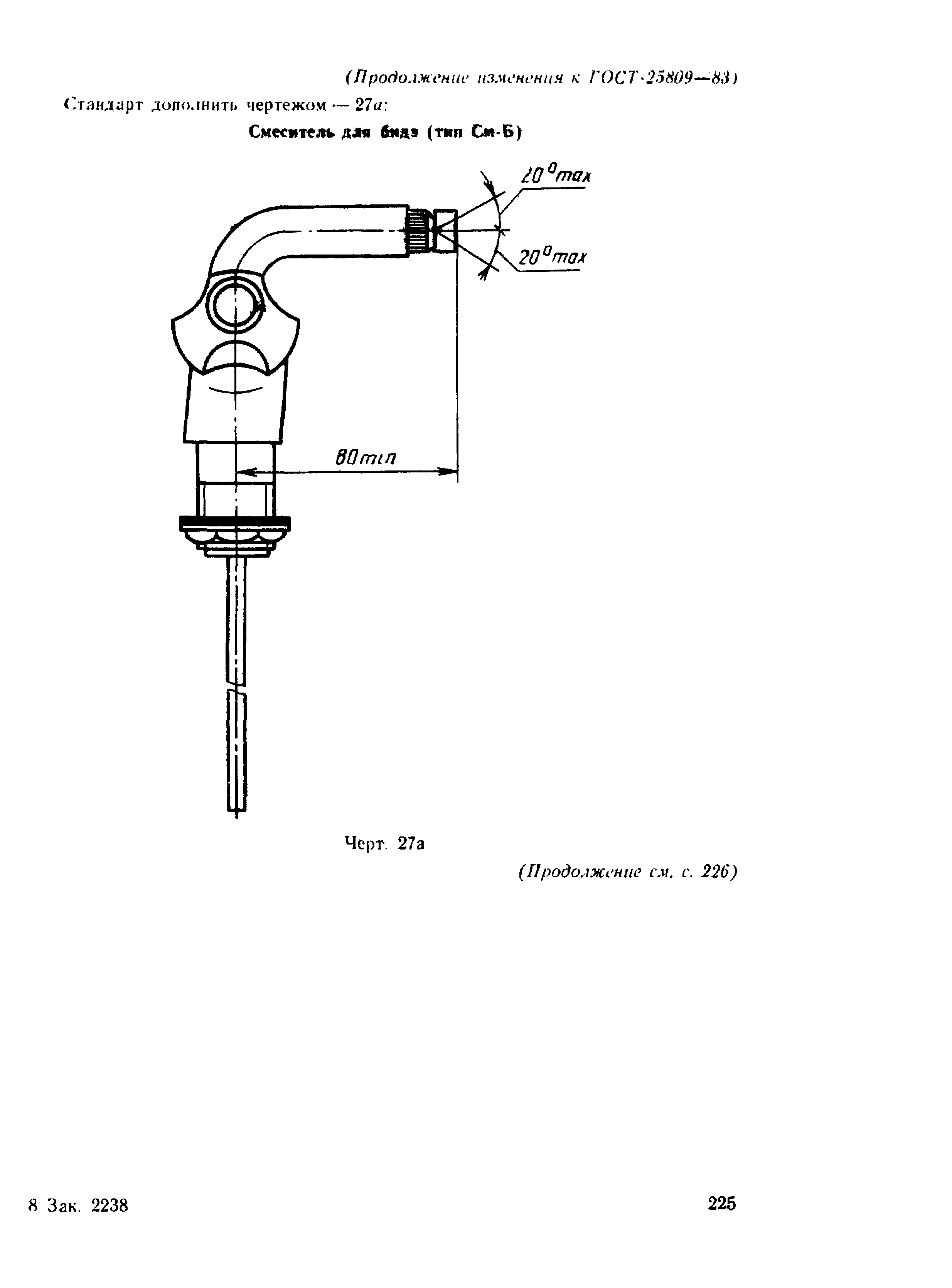
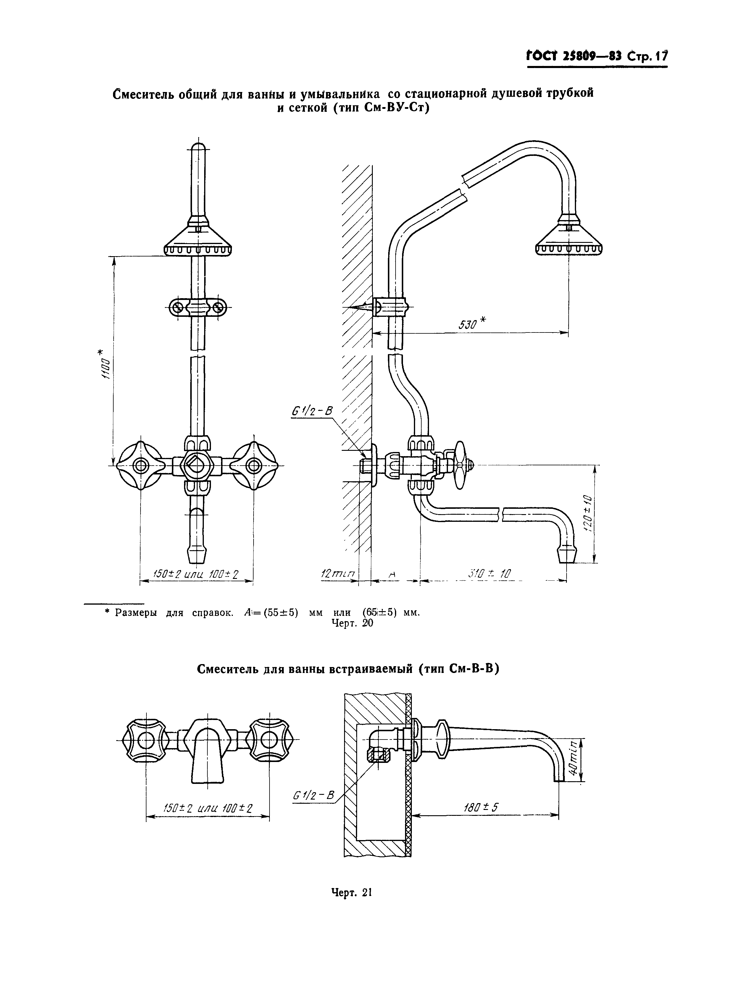
| Название рус.: | Смесители водоразборные. Типы и основные размеры |
| Название англ.: | Water supply mixing valves. Types and main dimensions |
| Дата актуализации текста: | 06.04.2015 |
| Дата актуализации описания: | 01.07.2023 |
| Дата издания: | 15.08.1983 |
| Дата введения: | 01.07.1984 |
| Дата окончания срока действия: | 01.01.1998 |
| Код ОКП: | 495110 |
| Взамен: | ГОСТ 19802-74; ГОСТ 19874-74 |
| Заменяющий: | ГОСТ 25809-96 |
| Содержит требования: | СТ СЭВ 230-88 |
| Список изменений: | №1 от 01.01.1988 (рег. 17.12.1987) «Срок действия продлен» №2 от 01.01.1990 (рег. 06.10.1989) «Срок действия продлен» |
|