| Обозначение: |  ГОСТ 25749-83 |
| Статус: | заменён |
| Название рус.: | Крышки металлические для стеклянной тары с венчиком горловины типа III. Технические условия |
| Название англ.: | Metal cap for glass package with neck crown - type 3. Specifications |
| Дата актуализации текста: | 06.04.2015 |
| Дата актуализации описания: | 01.07.2023 |
| Дата издания: | 30.06.1983 |
| Дата введения: | 01.07.1984 |
| Дата окончания срока действия: | 01.07.2006 |
| Код ОКП: | 957100;148000 |
| Заменяющий: | ГОСТ 25749-2005 |
| Нормативные ссылки: | ГОСТ 2874-82; ГОСТ 5717-91; ГОСТ 13345-85; ГОСТ 13516-86; ГОСТ 14192-77; ГОСТ 15150-69 |
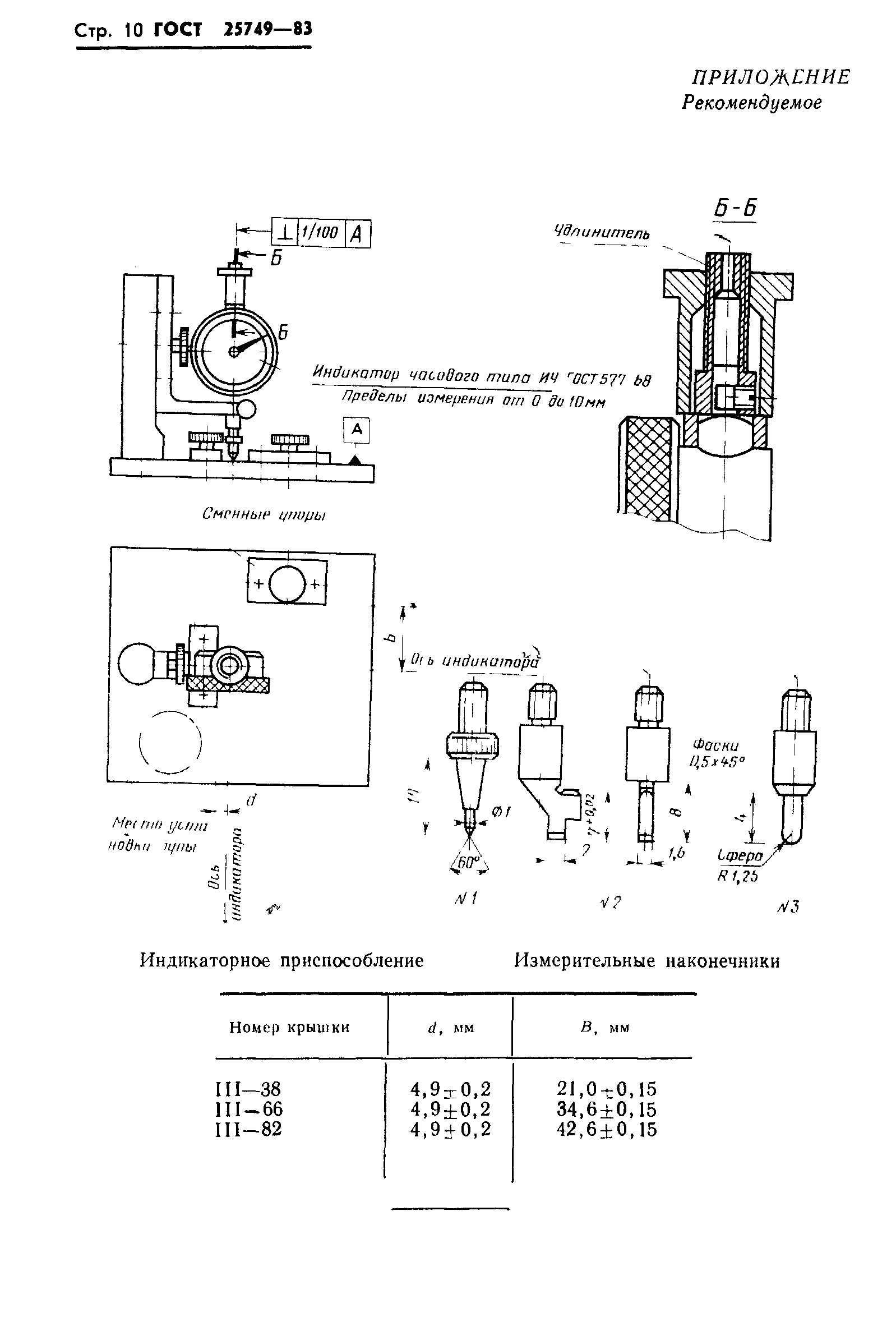
| Область применения: | Настоящий стандарт распространяется на металлические крышки для укупоривания стеклянных банок с венчиком горловины типа III по ГОСТ 5717-81 и стеклянных бутылок по нормативно-технической документации, предназначенных для стерилизуемой и пастеризуемой продукции |
| Список изменений: | №1 от 01.11.1988 (рег. 12.05.1988) «Срок действия продлен» №2 от 01.07.1996 (рег. 29.02.1996) «Срок действия продлен» |
|