| Обозначение: |  ГОСТ 2408.3-90 |
| Статус: | заменён |
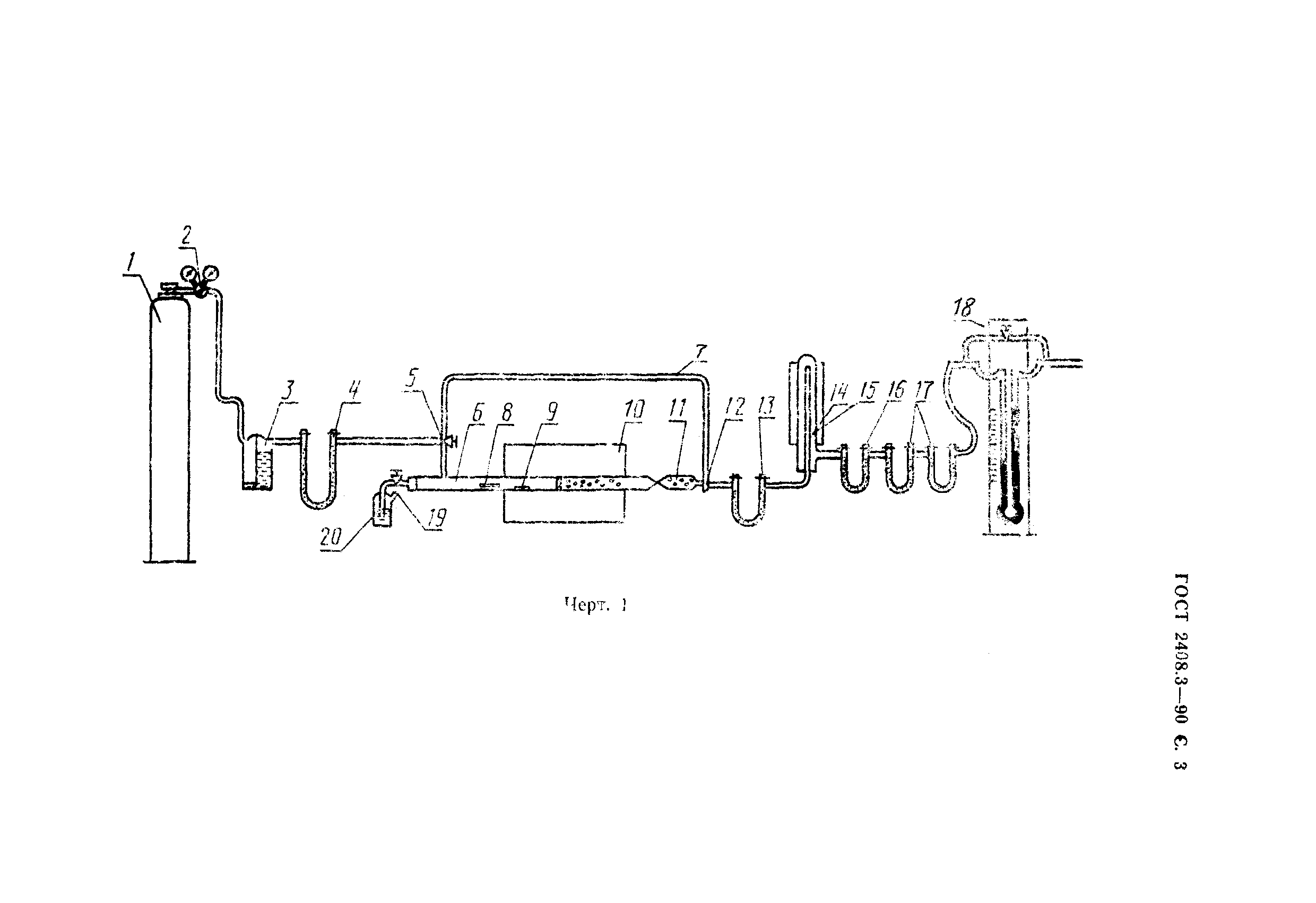
| Название рус.: | Топливо твердое. Методы определения кислорода |
| Название англ.: | Solid fuel. Methods for the determination of oxygen content |
| Дата актуализации текста: | 06.04.2015 |
| Дата актуализации описания: | 01.07.2023 |
| Дата введения: | 01.01.1991 |
| Дата окончания срока действия: | 01.01.1997 |
| Код ОКП: | 030000 |
| Взамен: | ГОСТ 2408.3-75 |
| Заменяющий: | ГОСТ 2408.3-95 |
| Нормативные ссылки: | ISO 1994:1976; ГОСТ 61-75; ГОСТ 1277-75; ГОСТ 2408.1-88; ГОСТ 2408.2-75; ГОСТ 3118-77; ГОСТ 4204-77; ГОСТ 4461-77; ГОСТ 5556-81; ГОСТ 6709-72; ГОСТ 7885-86; ГОСТ 7995-80; ГОСТ 8606-72; ГОСТ 9147-80; ГОСТ 10157-79; ГОСТ 10538-87; ГОСТ 10742-71; ГОСТ 11014-81; ГОСТ 11022-75; ГОСТ 11303-75; ГОСТ 11305-83; ГОСТ 11306-83; ГОСТ 13455-76; ГОСТ 16539-79; ГОСТ 24104-88; ГОСТ 25336-82; ГОСТ 27313-87;ТУ 6-09-3880-75;ТУ 6-09-4128-75;ТУ 6-09-5294-86 |
|