| Обозначение: |  ГОСТ 23511-79 |
| Статус: | не действует в РФ |
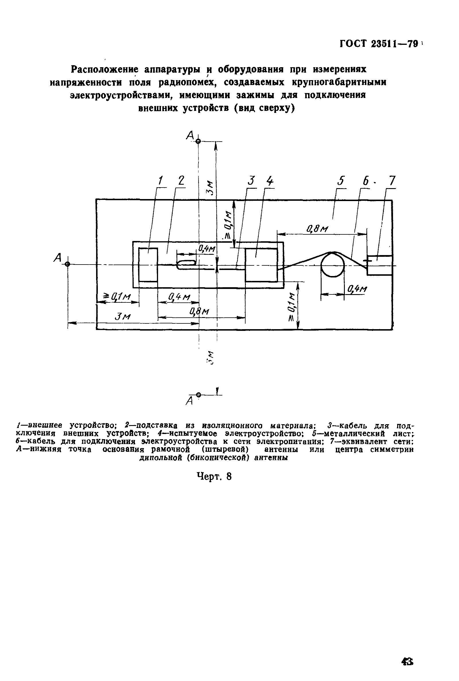
| Название рус.: | Радиопомехи индустриальные от электротехнических устройств, эксплуатируемых в жилых домах или подключаемых к их электрическим сетям. Нормы и методы измерений |
| Название англ.: | Man-made noise from domestic electrical appliances or electrotechnical appliances connected to the electrical mains of dwelling-houses. Limit and measuring methods |
| Дата актуализации текста: | 06.04.2015 |
| Дата актуализации описания: | 01.07.2023 |
| Дата издания: | 01.02.1994 |
| Дата введения: | 01.07.1980 |
| Дата окончания срока действия: | 01.01.2001 |
| На территории РФ пользоваться: | ГОСТ Р 51318.14.1-99 |
| Нормативные ссылки: | ГОСТ 12.1.003-83; ГОСТ 12.1.006-84; ГОСТ 12.3.019-80; ГОСТ 11001-80; ГОСТ 16842-82; ГОСТ 22261-82;TGL 20885/12;CISPR 14 |
| Список изменений: | №0 от 01.01.2001 (рег. 28.12.1999) «Поправка к изменению» №1 от 30.06.1984 (рег. 24.01.1984) «Срок действия продлен» №2 от 01.07.1989 (рег. 28.09.1988) «Срок действия продлен» №3 от 01.07.1990 (рег. 18.04.1990) «Срок действия продлен» |
|