| Обозначение: |  ГОСТ 23457-86 |
| Статус: | не действует в РФ |
| Название рус.: | Технические средства организации дорожного движения. Правила применения |
| Название англ.: | Traffic control devices. Application |
| Дата актуализации текста: | 06.04.2015 |
| Дата актуализации описания: | 01.07.2023 |
| Дата издания: | 01.09.1998 |
| Дата введения: | 01.01.1987 |
| Дата окончания срока действия: | 01.01.2006 |
| Код ОКП: | 521000 |
| Взамен: | ГОСТ 23457-79 |
| На территории РФ пользоваться: | ГОСТ Р 52289-2004 |
| Нормативные ссылки: | ГОСТ 10807-78; ГОСТ 13508-74; ГОСТ 25458-82; ГОСТ 25459-82; ГОСТ 25695-91; ГОСТ 25869-83; ГОСТ 26804-86;СНиП 2.05.02-85;ТУ 14-2-341-78 |
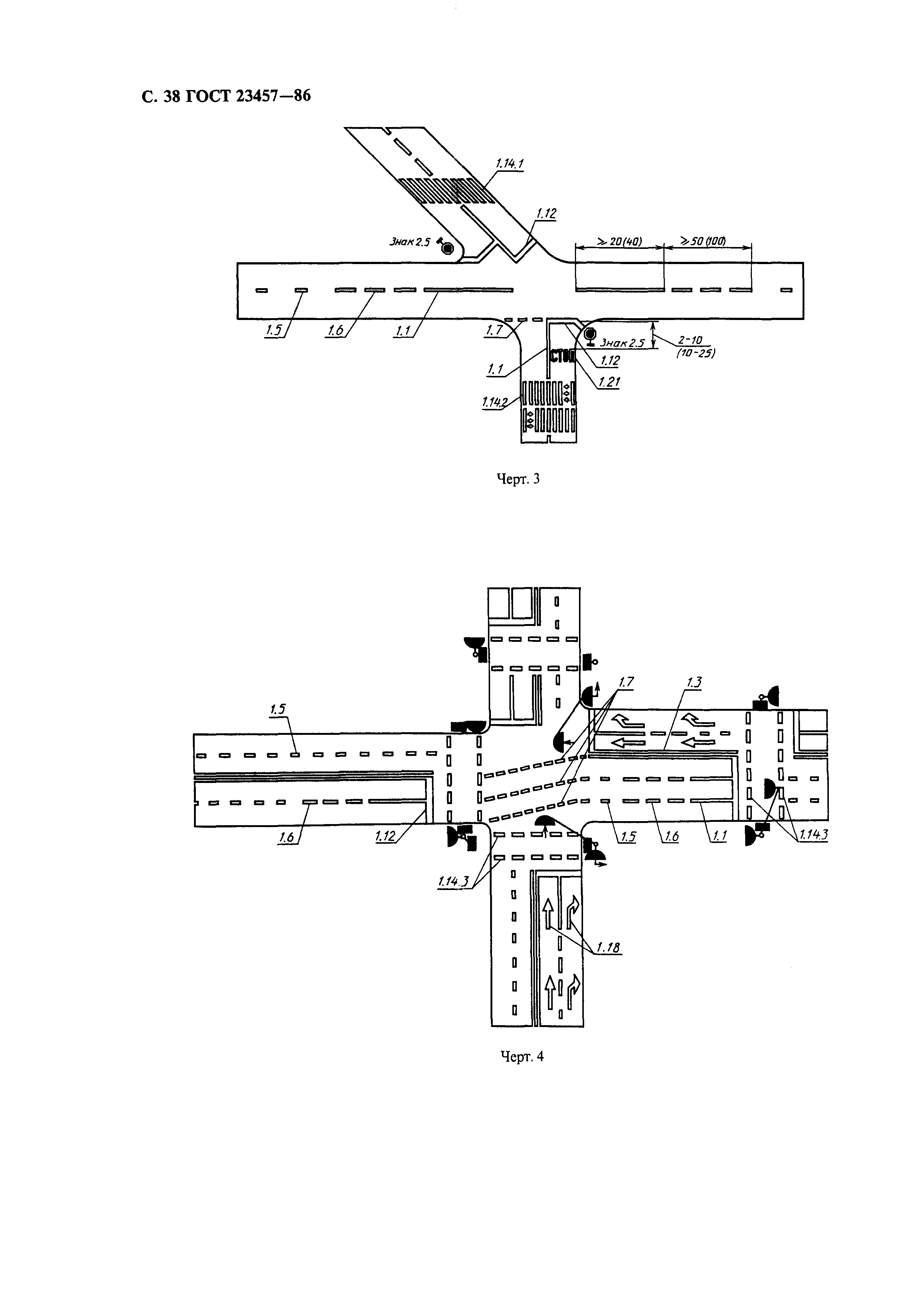
| Область применения: | Настоящий стандарт устанавливает правила применения технических средств организации дорожного движения: дорожных знаков, дорожной разметки, светофоров, дорожных ограждений и направляющих устройств на всех дорогах, включая улицы в населенных пунктах |
| Список изменений: | №0 от 01.01.2006 (рег. 15.12.2004) «Поправка к изменению» №1 от 01.01.1999 (рег. 01.06.1998) «Срок действия продлен» №2 от 01.04.2001 (рег. 14.11.2000) «Срок действия продлен» |
|