| Обозначение: |  ГОСТ 22847-85 |
| Статус: | заменён |
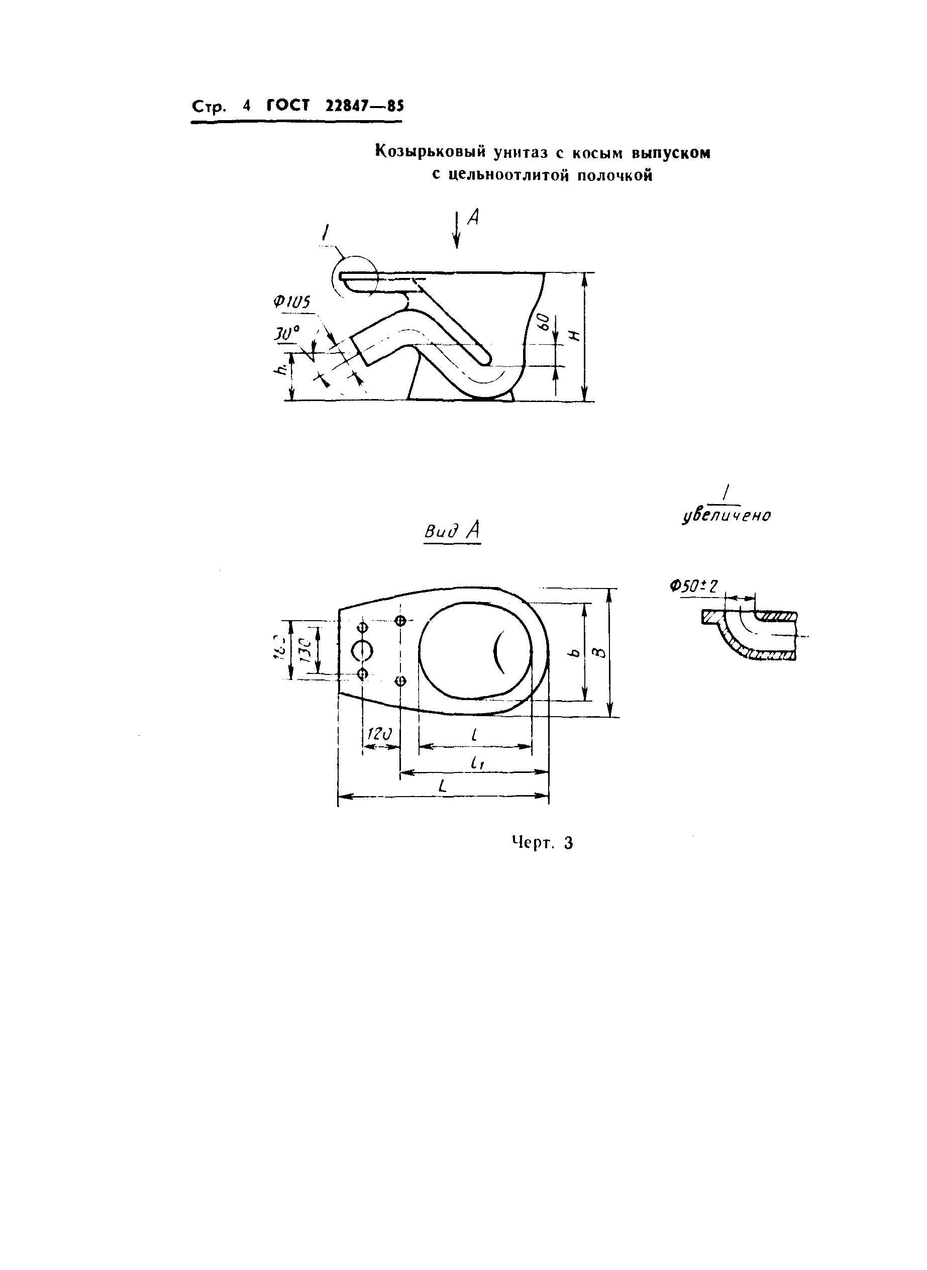
| Название рус.: | Унитазы керамические. Технические условия |
| Название англ.: | Ceramic toilet pans. Specifications |
| Дата актуализации текста: | 06.04.2015 |
| Дата актуализации описания: | 01.07.2023 |
| Дата издания: | 11.08.1987 |
| Дата введения: | 01.01.1986 |
| Дата окончания срока действия: | 01.07.1998 |
| Код ОКП: | 496500 |
| Взамен: | ГОСТ 22847-77 |
| Заменяющий: | ГОСТ 30493-96 |
| Содержит требования: | CT CЭB 3980-83 |
| Нормативные ссылки: | ГОСТ 15167-85; ГОСТ 13449-82; ГОСТ 21485.4-76; ГОСТ 21485.5-76; ГОСТ 15062-83 |
|