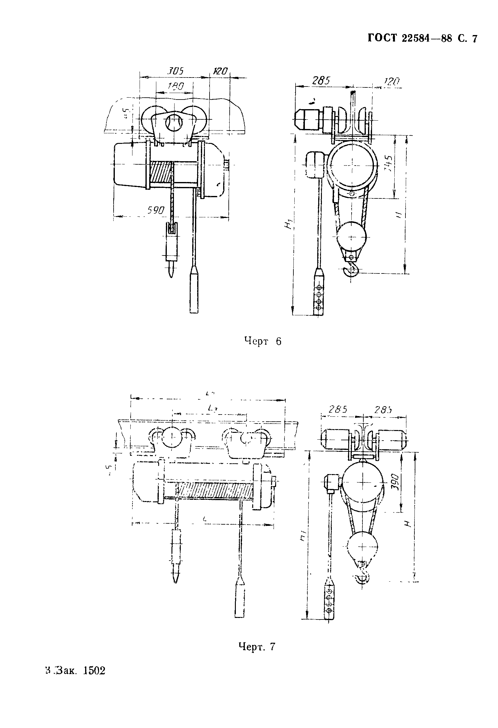
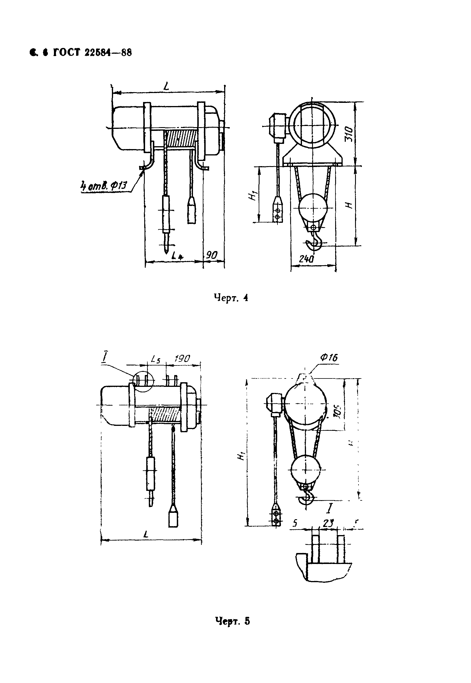
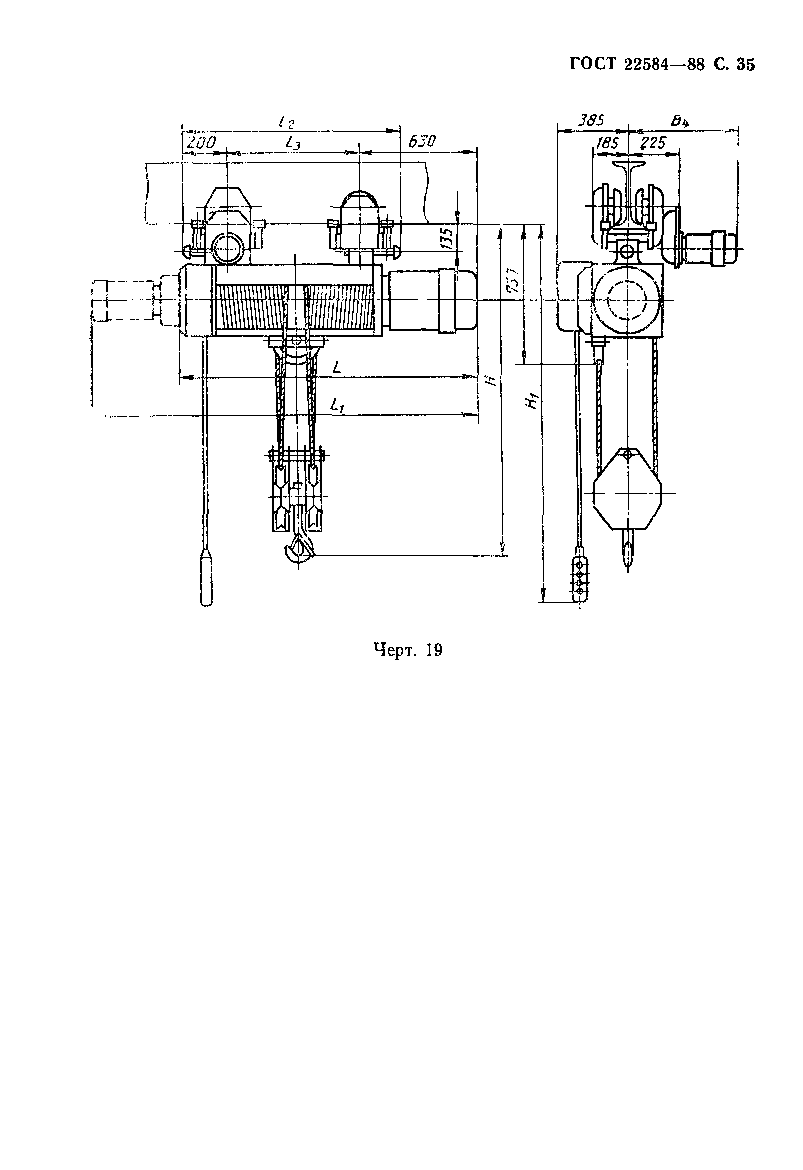
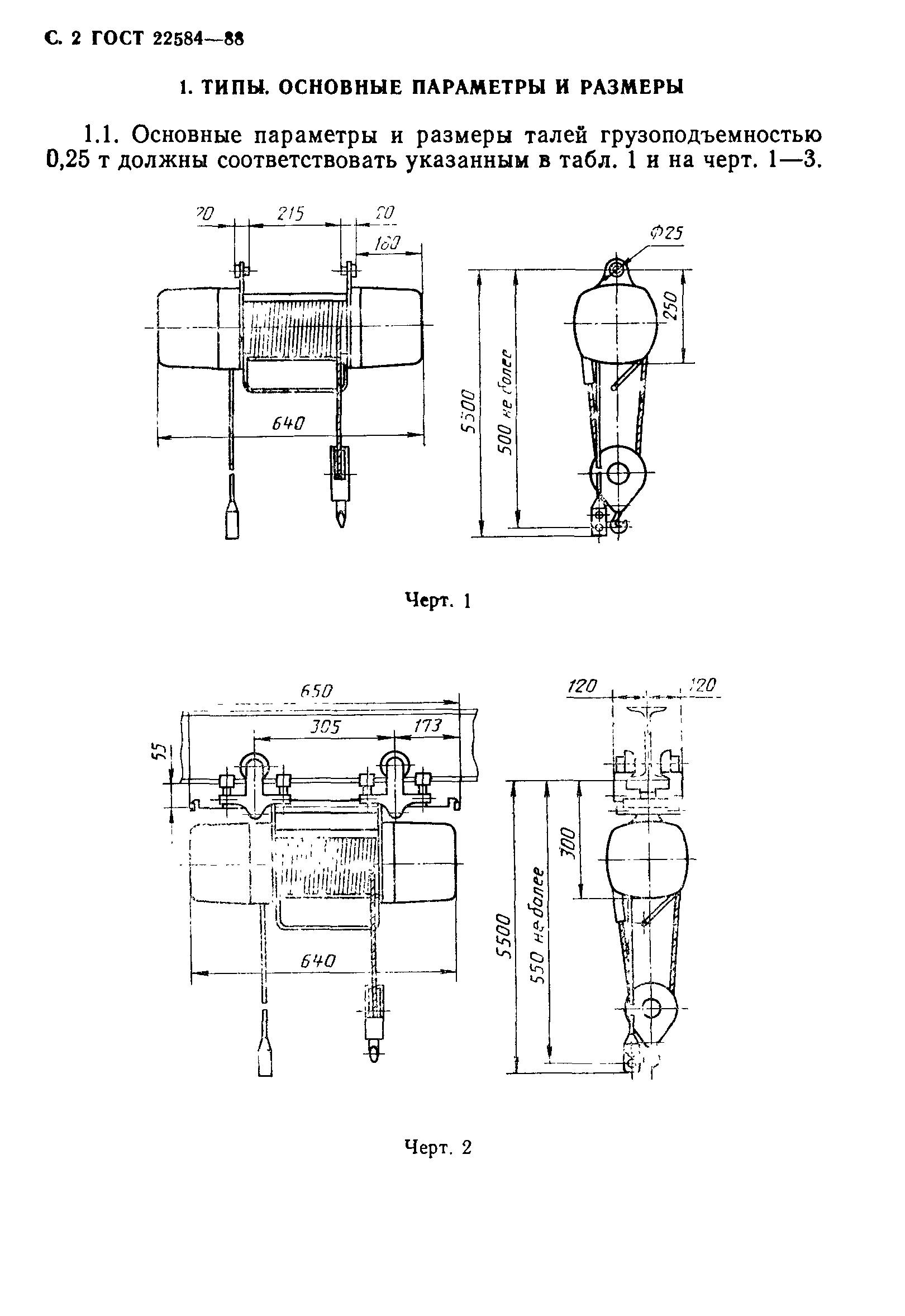
| Обозначение: |  ГОСТ 22584-88 |
| Статус: | заменён |
| Название рус.: | Тали электрические канатные. Технические условия |
| Название англ.: | Rope electric hoists. Specifications |
| Дата актуализации текста: | 06.04.2015 |
| Дата актуализации описания: | 01.07.2023 |
| Дата издания: | 01.06.1993 |
| Дата введения: | 01.07.1990 |
| Дата окончания срока действия: | 01.01.1998 |
| Код ОКП: | 317400 |
| Взамен: | ГОСТ22584-77; ГОСТ ЭД1 22584-80;ГОСТ12.2.089-83;ГОСТ25274-82 |
| Заменяющий: | ГОСТ 22584-96 |
| Содержит требования: | СТ СЭВ 2144-80;СТ СЭВ 2081-80 |
| Нормативные ссылки: | ГОСТ 25835-83; ГОСТ 23706-79; ГОСТ 19425-74; ГОСТ 19282-73; ГОСТ 19281-73; ГОСТ 15150-69; ГОСТ 14254-80; ГОСТ 14192-77; ГОСТ 12971-67; ГОСТ 12840-80; ГОСТ 10198-78; ГОСТ 8239-72; ГОСТ 6996-66 |
| Список изменений: | №1 от 01.08.1990 (рег. 01.03.1990) «Срок действия продлен» |
|