| Обозначение: |  ГОСТ 21132.1-81 |
| Статус: | заменён |
| Название рус.: | Алюминий и сплавы алюминиевые. Методы определения содержания водорода в твердом металле |
| Название англ.: | Aluminium alloys. Measuring hydrogen content insolid metal by solid extraction method |
| Дата актуализации текста: | 06.04.2015 |
| Дата актуализации описания: | 01.07.2023 |
| Дата издания: | 09.10.1981 |
| Дата введения: | 01.01.1983 |
| Дата окончания срока действия: | 01.01.2000 |
| Код ОКП: | 170000 |
| Взамен: | ГОСТ 21132.1-75 |
| Заменяющий: | ГОСТ 21132.1-98 |
| Нормативные ссылки: | ГОСТ 8.315-78; ГОСТ 2789-73; ГОСТ 6552-58; ГОСТ 4461-77; ГОСТ 1790-77; ГОСТ 4658-73; ГОСТ 1012-72; ГОСТ 5962-67; ГОСТ 23013-78; ГОСТ 3118-77; ГОСТ 9293-74; ГОСТ 5556-75; ГОСТ 12862-73 |
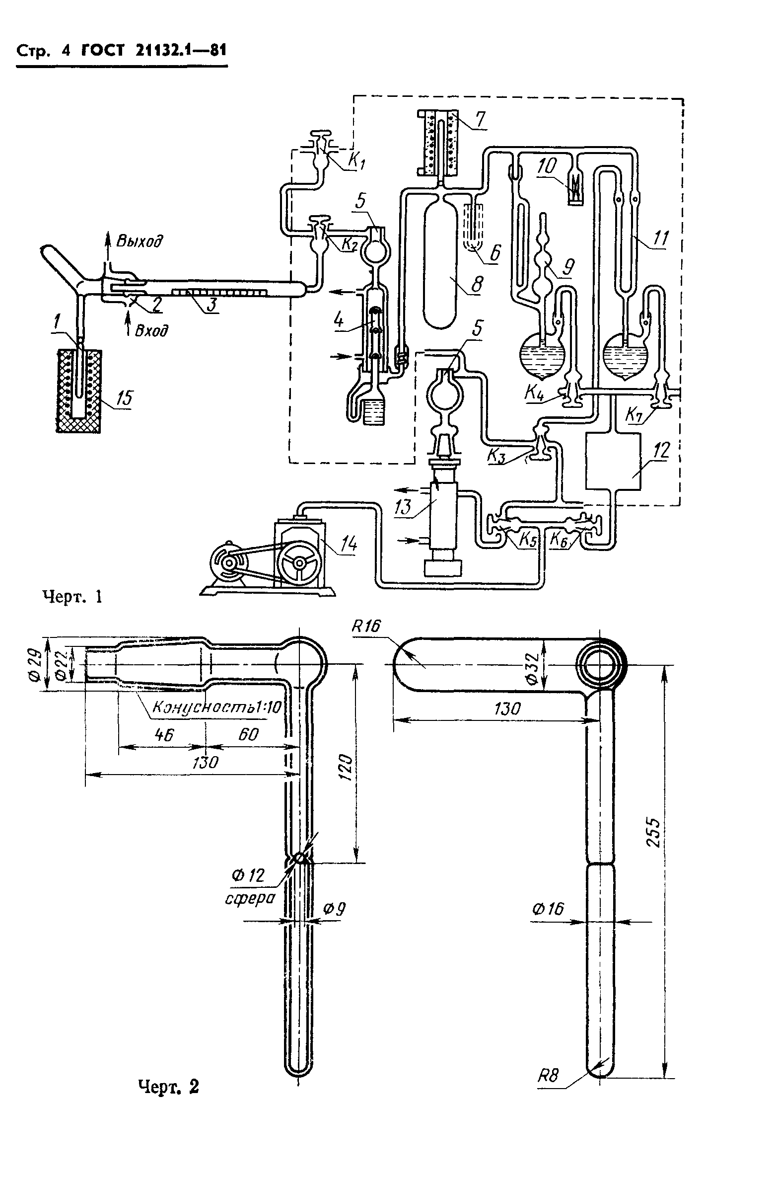
| Область применения: | Настоящий стандарт устанавливает метод вакуум-нагрева с анализатором по давлению и метод вакуум-нагрева с масс-спектрометрическим анализатором в динамическом режиме (при содержании водорода от 0,07 до 1,0 куб. см на 100 г металла) определения содержания водорода в твердом металле алюминия и алюминиевых сплавов |
| Список изменений: | №1 от 01.07.1986 (рег. 22.08.1985) «Срок действия продлен» №2 от 05.06.1987 (рег. 04.06.1987) «Срок действия продлен» |
|