| Обозначение: |  ГОСТ 20680-86 |
| Статус: | заменён |
| Название рус.: | Аппараты с механическими перемешивающими устройствами вертикальные. Общие технические требования |
| Название англ.: | Vertical apparatus with mechanical agitating devices. General technical requirements |
| Дата актуализации текста: | 06.04.2015 |
| Дата актуализации описания: | 01.07.2023 |
| Дата издания: | 01.06.1992 |
| Дата введения: | 01.01.1988 |
| Дата окончания срока действия: | 01.07.2003 |
| Код ОКП: | 361540;361550 |
| Взамен: | ГОСТ 20680-75 |
| Заменяющий: | ГОСТ 20680-2002 |
| Нормативные ссылки: | ГОСТ 2.307-68; ГОСТ 9.014-78; ГОСТ 12.1.005-88; ГОСТ 12.1.007-76; ГОСТ 12.1.011-78; ГОСТ 12.1.012-90; ГОСТ 12.1.019-79; ГОСТ 12.1.028-80; ГОСТ 12.2.003-91; ГОСТ 12.2.007.0-75; ГОСТ 12.2.007.1-75; ГОСТ 12.2.020-76; ГОСТ 12.2.049-80; ГОСТ 12.2.062-81; ГОСТ 12.2.064-81; ГОСТ 12.2.085-82; ГОСТ 12.4.026-76; ГОСТ 12.4.040-78; ГОСТ 10198-91; ГОСТ 14254-80; ГОСТ 15150-69; ГОСТ 17494-87; ГОСТ 21130-75; ГОСТ 22782.1-77; ГОСТ 22782.2-77; ГОСТ 22782.3-77; ГОСТ 22782.4-78; ГОСТ 22782.5-78; ГОСТ 22782.6-81; ГОСТ 22782.7-81; ГОСТ 23120-78; ГОСТ 23170-78; ГОСТ 23216-78; ГОСТ 24444-87; ГОСТ 24634-81; ГОСТ 24755-89; ГОСТ 25347-82; ГОСТ 25348-82; ГОСТ 25670-83; ГОСТ 26179-84;СНиП 11-7-81;ПУЭ |
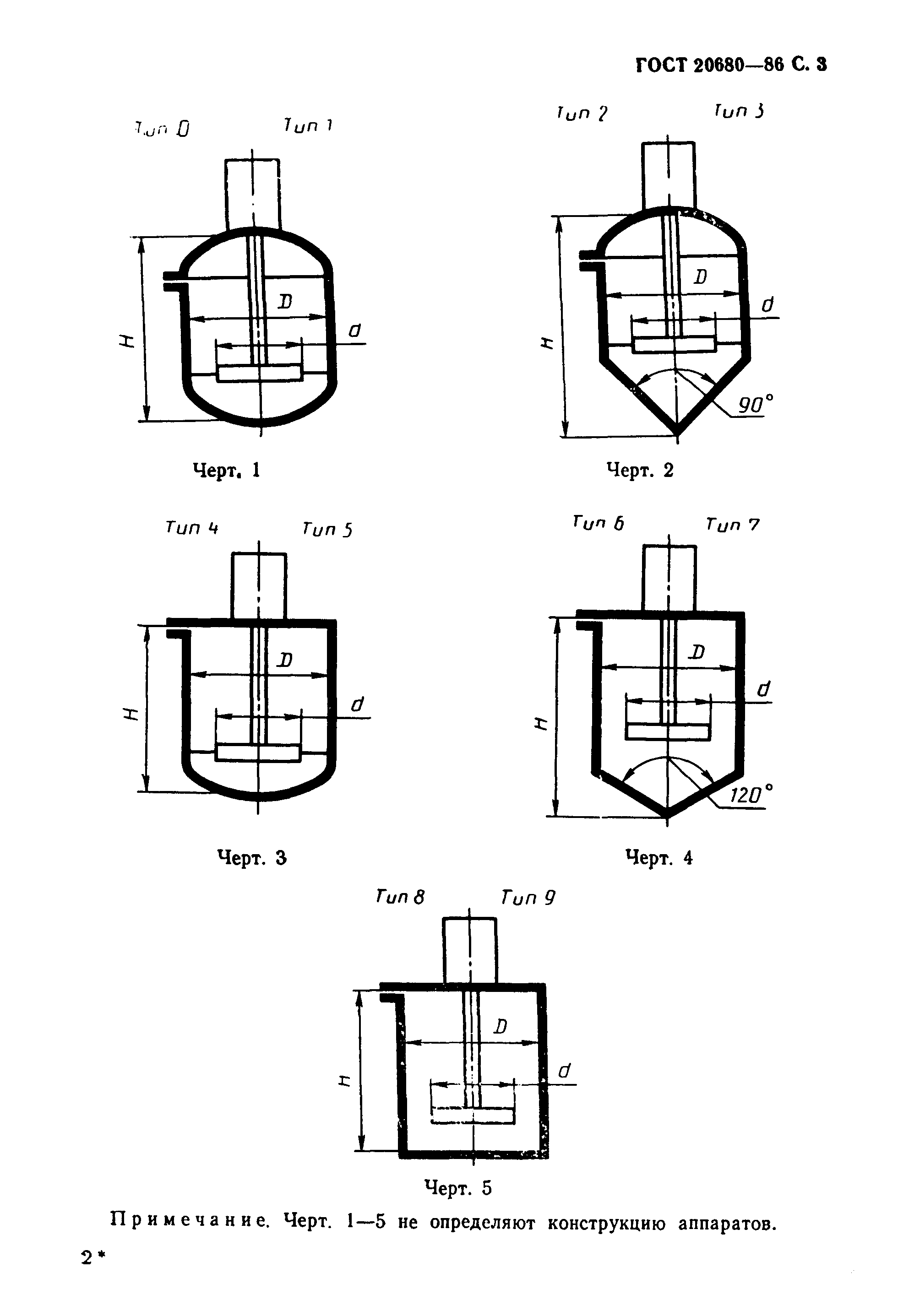
| Область применения: | Настоящий стандарт распространяется на вертикальные сварные аппараты из стали, цветных металлов и сплавов объемом от 0,01 до 100 м куб. с механическими перемешивающими устройствами и верхним расположением приводов, предназначенные для проведения различных физико-химических процессов в жидких средах плотностью до 2000 кг/м куб. и динамической вязкостью не более 200 Па.с, при температуре рабочей среды от минус 40 до плюс 350 град. С и рабочем избыточном давлении не более 6,3 МПа. Стандарт распространяется также на гуммированные аппараты объемом от 1 до 16 м куб. в части изготовления металлических конструкций, аппараты, работающие при отсутствии давления (открытые) и под вакуумом с остаточным давлением не ниже 665 Па. Стандарт не распространяется на аппараты с эмалевым покрытием и аппараты, изготовленные из чугуна и неметаллических материалов, а также обогреваемые топочными газами или открытым пламенем |
| Список изменений: | №1 от 01.08.1992 (рег. 30.01.1992) «Срок действия продлен» |
|