| Обозначение: |  ГОСТ 18576-85 |
| Статус: | заменён |
| Название рус.: | Контроль неразрушающий. Рельсы железнодорожные. Методы ультразвуковые |
| Название англ.: | Non-destructive testing. Railway rails. Ultrasonic control methods |
| Дата актуализации текста: | 06.04.2015 |
| Дата актуализации описания: | 01.07.2023 |
| Дата издания: | 24.07.1985 |
| Дата введения: | 01.07.1986 |
| Дата окончания срока действия: | 01.01.2002 |
| Код ОКП: | 092000 |
| Взамен: | ГОСТ 18576-80 |
| Заменяющий: | ГОСТ 18576-96 |
| Нормативные ссылки: | ГОСТ 23049-84; ГОСТ 14782-76; ГОСТ 26266-84; ГОСТ 17622-72; ГОСТ 1050-74; ГОСТ 12.1.001-83; ГОСТ 12.1.003-83; ГОСТ 12.2.003-74; ГОСТ 12.3.002-75; ГОСТ 24182-80 |
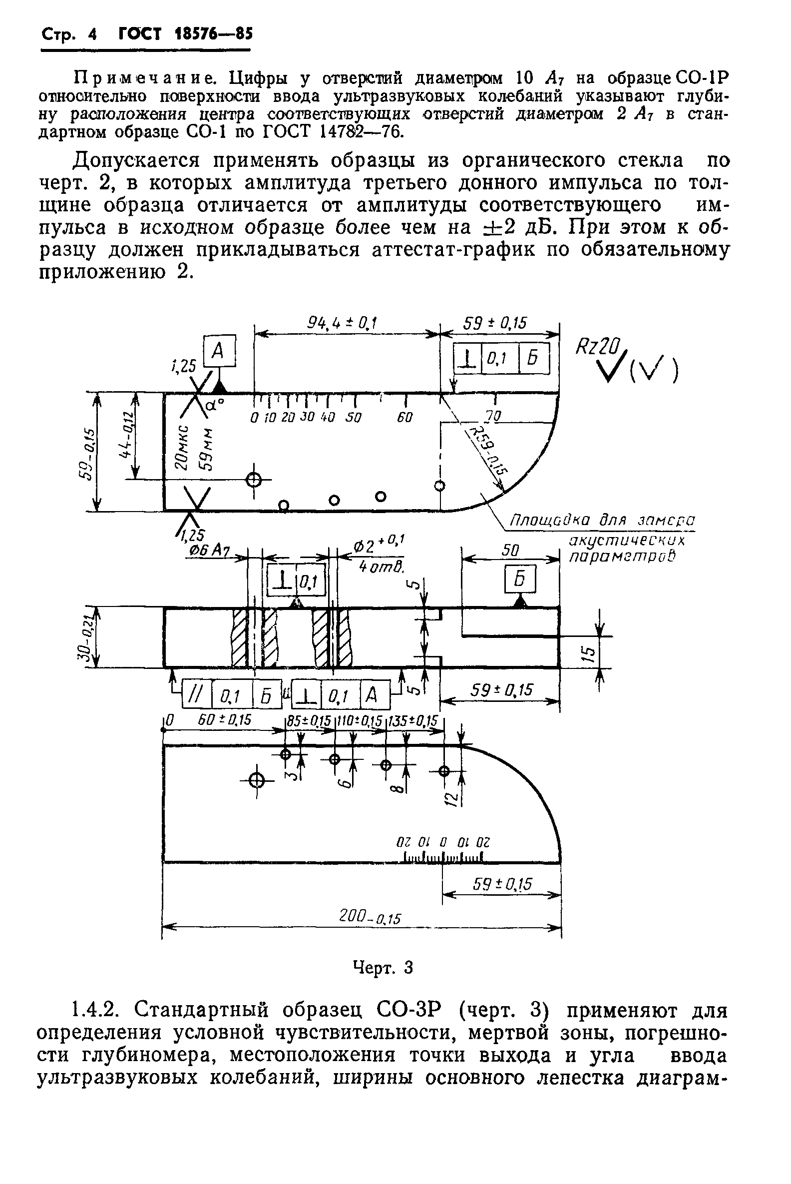
| Область применения: | Настоящий стандарт распространяется на рельсы типов Р43, Р50, Р65 и Р75 и устанавливает методы ультразвукового контроля для выявления в головке, шейке и зоне продолжения шейки в подошву рельсов внутренних дефектов: расслоений, флокенов, раковин, сосредоточенных ликваций, трещин, дефектов электроконтактной сварки. Стандарт не устанавливает методы ультразвукового контроля наплавки. Характер дефектов при ультразвуковом контроле не определяется. Необходимость проведения ультразвукового контроля, объем контроля, типы и размеры недопустимых дефектов устанавливаются в стандартах или технических условиях на рельсы |
|