| Обозначение: |  ГОСТ 17528-72 |
| Статус: | заменён |
| Название рус.: | Оправки кулачковые шпиндельные. Конструкция и размеры |
| Название англ.: | Spindle cam arbors. Design and dimensions |
| Дата актуализации текста: | 06.04.2015 |
| Дата актуализации описания: | 01.07.2023 |
| Дата издания: | 12.04.1972 |
| Дата введения: | 01.01.1974 |
| Дата окончания срока действия: | 01.01.1999 |
| Код ОКП: | 392880;396100 |
| Взамен: | МН 5267-63 |
| Заменяющий: | ГОСТ 31.1066.04-97 |
| Нормативные ссылки: | ГОСТ 22038-76; ГОСТ 1478-75; ГОСТ 2789-73; ГОСТ 14034-74; ГОСТ 4543-71; ГОСТ 9.073-74; ГОСТ 2848-75; ГОСТ 16093-70; ГОСТ 22129-76; ГОСТ 5950-73; ГОСТ 9389-75; ГОСТ 1050-74; ГОСТ 1759-70; ГОСТ 16118-70;СТ СЭВ 147-75 |
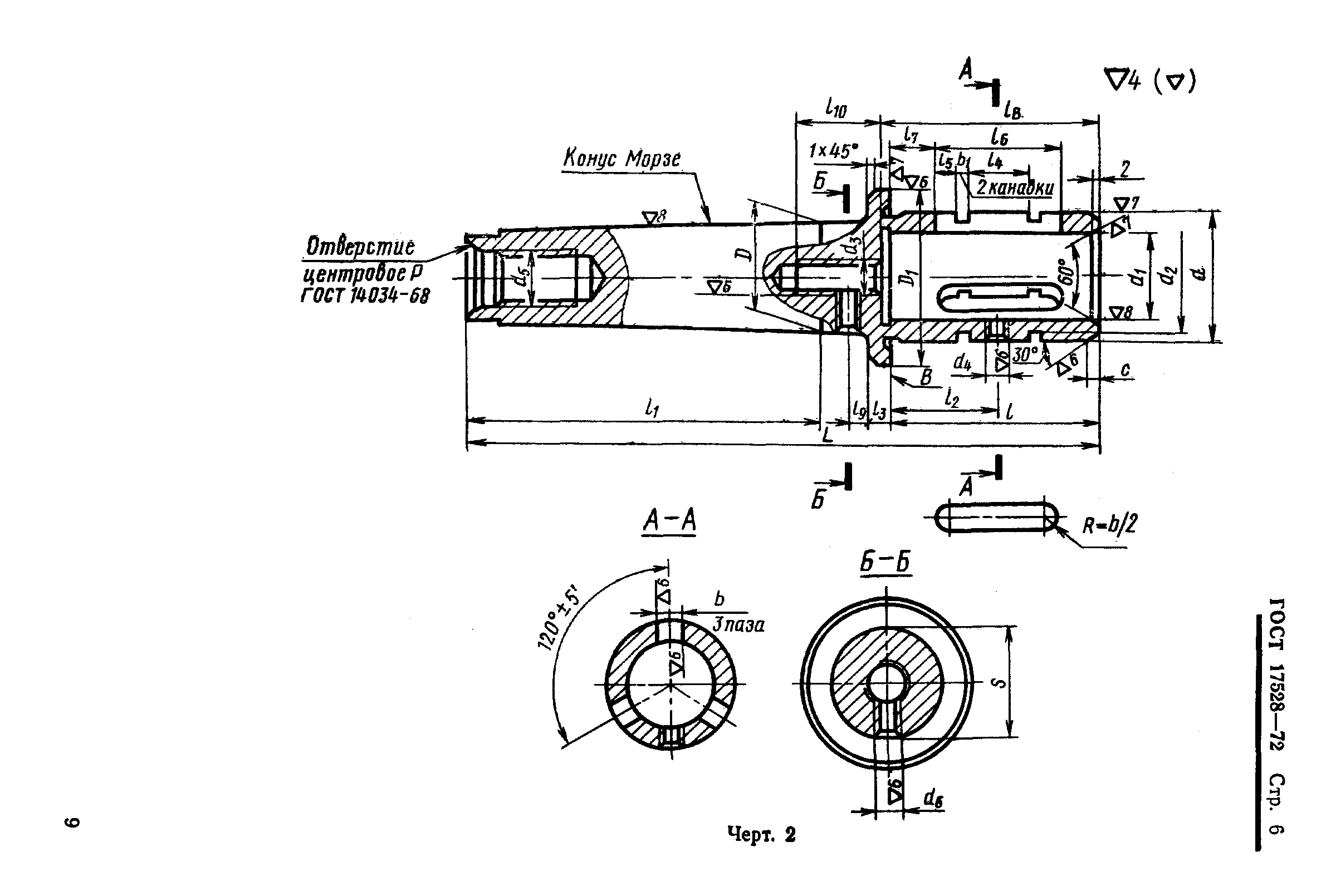
| Область применения: | Настоящий стандарт распространяется на кулачковые шпиндельные оправки, предназначенные для установки и закрепления толстостенных заготовок при механической обработке на токарных, круглошлифовальных и других станках. 1. Конструкция и размеры оправок 2. Конструкция и размеры корпусов (деталь 1) 3. Конструкция и размеры кулачков (деталь 2) 4. Конструкция и размеры втулок (деталь 3) 5. Конструкция и размеры пружиных колец (деталь 4) |
| Список изменений: | №1 от 01.01.1982 (рег. 23.01.1981) «Срок действия продлен» №2 от 01.01.1987 (рег. 12.02.1986) «Срок действия продлен» |
|