| Обозначение: |  ГОСТ 14192-77 |
| Статус: | заменён |
| Название рус.: | Маркировка грузов |
| Название англ.: | Marking of cargo |
| Дата актуализации текста: | 06.04.2015 |
| Дата актуализации описания: | 01.07.2023 |
| Дата издания: | 01.01.1990 |
| Дата введения: | 01.01.1979 |
| Дата окончания срока действия: | 01.01.1998 |
| Взамен: | ГОСТ 14192-71 |
| Заменяющий: | ГОСТ 14192-96 |
| Содержит требования: | СТ СЭВ 257-89;СТ СЭВ 258-81 |
| Нормативные ссылки: | ISO 780:1985 |
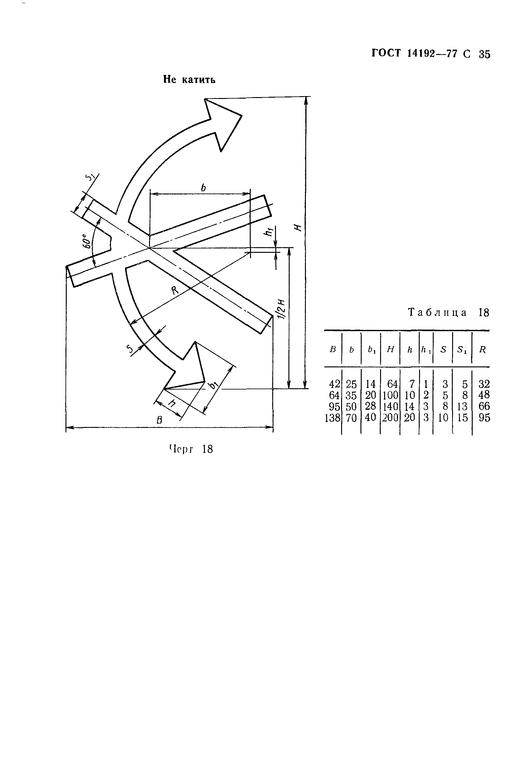
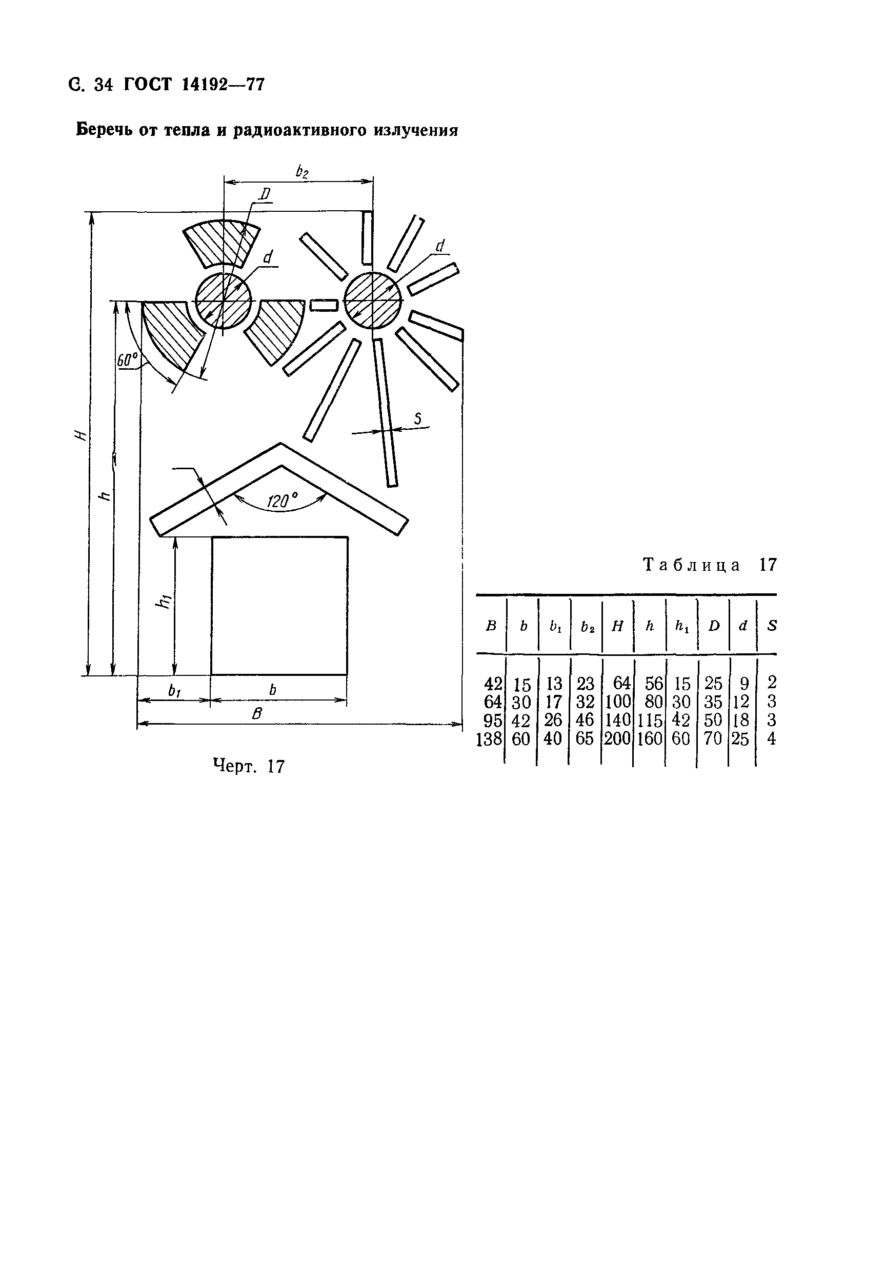
| Область применения: | Настоящий стандарт устанавливает общие правила маркировки грузов, в том числе поставляемых для экспорта, а также нанесения маркировки, характеризующей транспортную тару, и предназначен для разработки нормативно-технической документации на конкретные виды продукции |
| Список изменений: | №1 от 01.01.1983 (рег. 15.09.1981) «Срок действия продлен» №3 от 01.09.1987 (рег. 16.04.1987) «Срок действия продлен» №4 от 01.01.1989 (рег. 28.06.1988) «Срок действия продлен» №5 от 01.01.1991 (рег. 12.04.1990) «Срок действия продлен» №6 от 01.07.1992 (рег. 16.12.1991) «Срок действия продлен» |
|