| Обозначение: |  ГОСТ 13877-80 |
| Статус: | заменён |
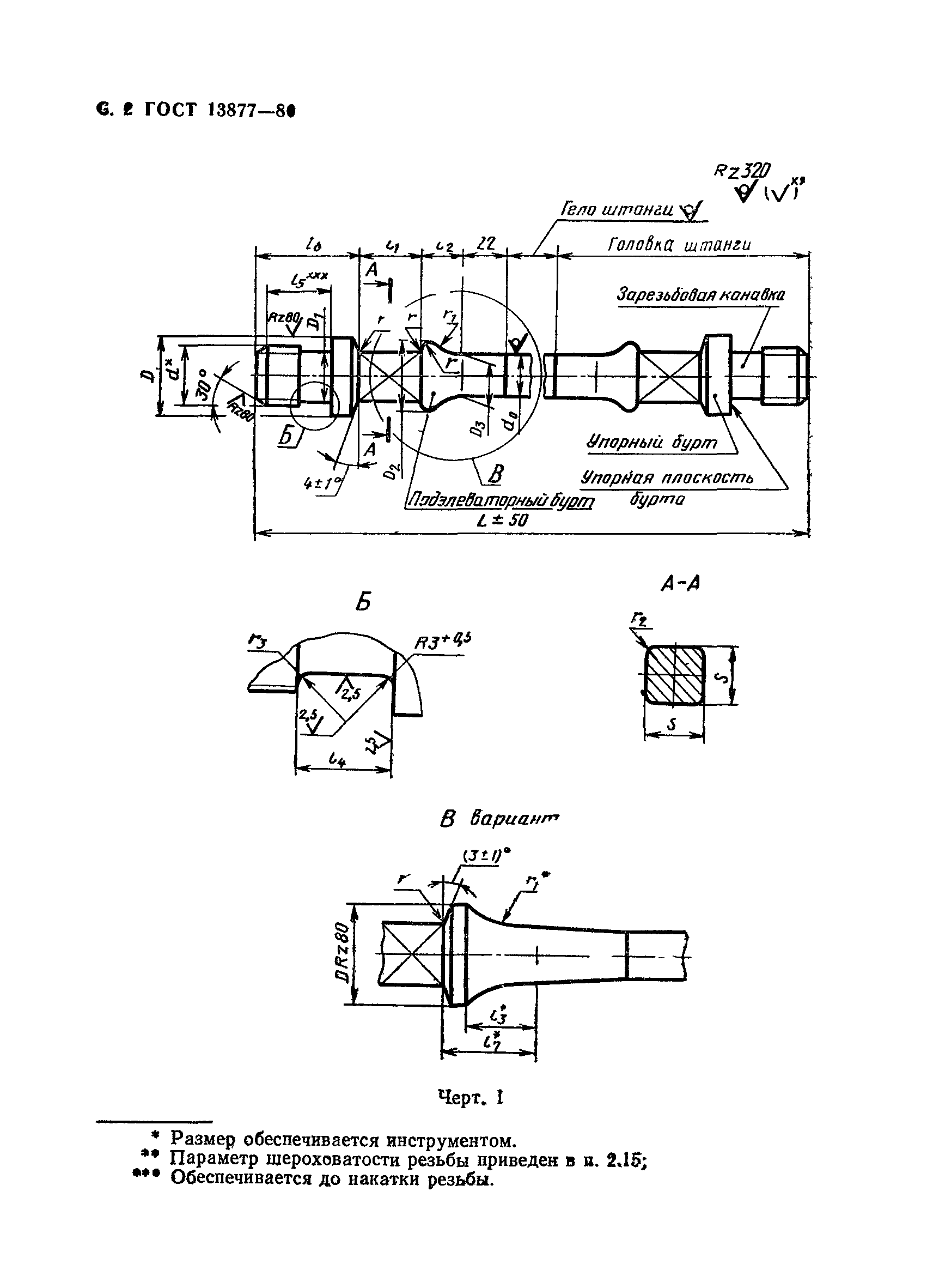
| Название рус.: | Штанги насосные и муфты к ним. Технические условия |
| Название англ.: | Sucker rods and couplings. Specifications |
| Дата актуализации текста: | 06.04.2015 |
| Дата актуализации описания: | 01.01.2021 |
| Дата издания: | 01.05.1993 |
| Дата введения: | 01.01.1981 |
| Дата окончания срока действия: | 01.01.2000 |
| Код ОКП: | 366523 |
| Взамен: | ГОСТ 13877-68 |
| Заменяющий: | ГОСТ 13877-96 |
| Список изменений: | №1 от 01.03.1985 (рег. 27.09.1984) «Срок действия продлен» №2 от 01.01.1986 (рег. 21.03.1985) «Срок действия продлен» №3 от 01.10.1986 (рег. 28.11.1986) «Срок действия продлен» №4 от 01.10.1987 (рег. 20.04.1987) «Срок действия продлен» №5 от 01.08.1989 (рег. 27.01.1989) «Срок действия продлен» |
|