| Обозначение: |  ГОСТ 13481-76 |
| Статус: | заменён |
| Название рус.: | Волокно и жгут химические. Метод определения усадки |
| Название англ.: | Man-made fiber and tow. Method of determination of shrinkage |
| Дата актуализации текста: | 06.04.2015 |
| Дата актуализации описания: | 01.07.2023 |
| Дата издания: | 01.10.1996 |
| Дата введения: | 01.01.1978 |
| Дата окончания срока действия: | 01.01.2003 |
| Код ОКП: | 227000 |
| Взамен: | ГОСТ 13481-68 |
| Заменяющий: | ГОСТ 13481-2001 |
| Нормативные ссылки: | ГОСТ 166-89; ГОСТ 6709-72; ГОСТ 10213.0-73; ГОСТ 10213.1-73; ГОСТ 10681-75; ГОСТ 14919-83; ГОСТ 24104-88;ТУ 25-1894.003-90 |
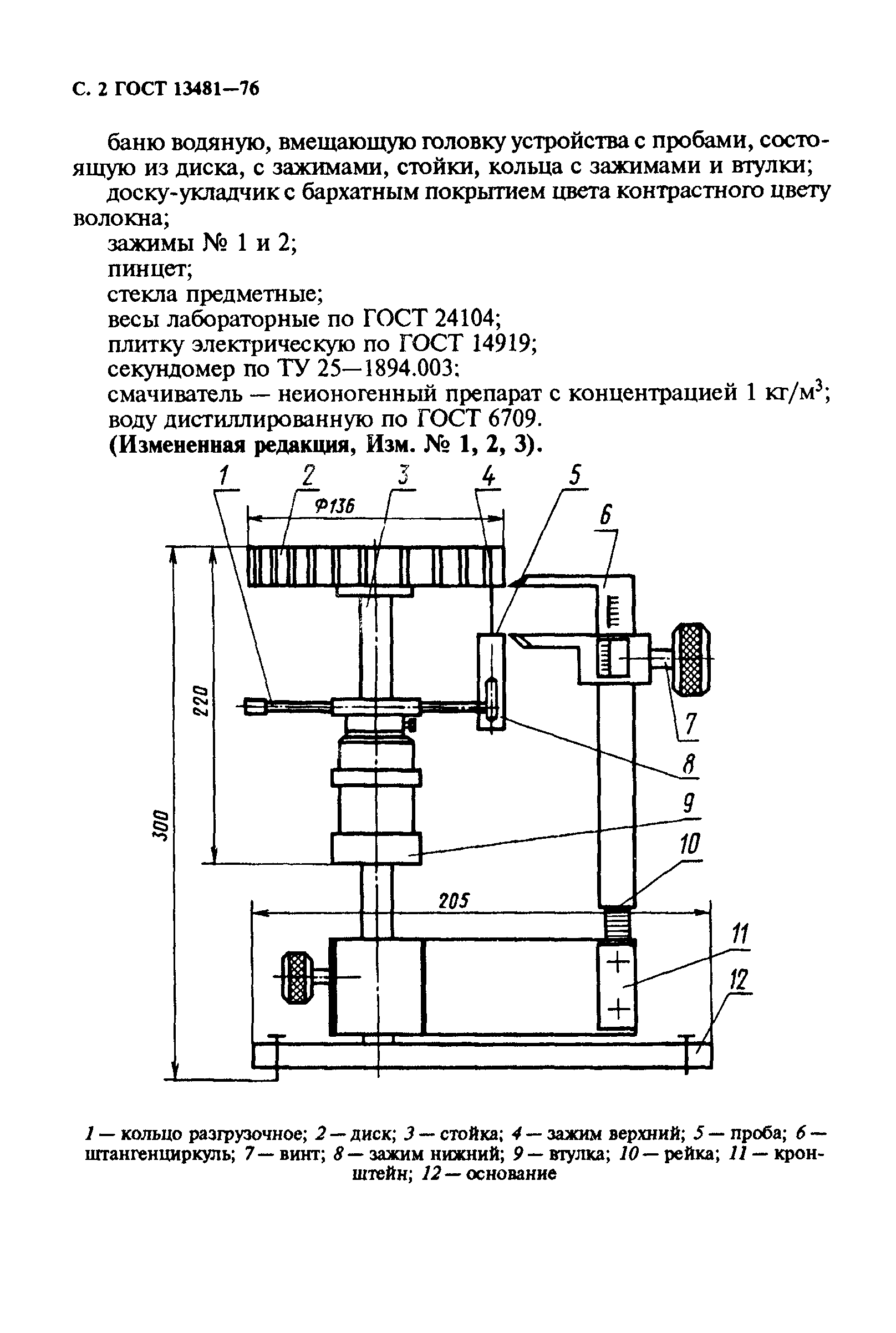
| Область применения: | Настоящий стандарт распространяется на химические волокна и жгут и устанавливает метод определения линейной усадки под действием кипящей воды или горячего воздуха. Стандарт не распространяется на поливинилхлоридное волокно |
| Список изменений: | №1 от 01.07.1983 (рег. 15.12.1982) «Срок действия продлен» №2 от 01.10.1987 (рег. 12.05.1987) «Срок действия продлен» №3 от 01.10.1992 (рег. 20.03.1992) «Срок действия продлен» |
|