| Обозначение: |  ГОСТ Р 51317.4.11-2007 |
| Статус: | отменён |
| Название рус.: | Совместимость технических средств электромагнитная. Устойчивость к провалам, кратковременным прерываниям и изменениям напряжения электропитания. Требования и методы испытаний |
| Название англ.: | Electromagnetic compatibility of technical equipmеnt. Voltage dips, short interruptions and voltage variations immunity. Requirements and test methods |
| Дата актуализации текста: | 06.04.2015 |
| Дата актуализации описания: | 01.07.2023 |
| Дата издания: | 01.04.2008 |
| Дата введения: | 01.07.2008 |
| Дата окончания срока действия: | 01.01.2014 |
| Взамен: | ГОСТ Р 51317.4.11-99 |
| Содержит требования: | IEC 61000-4-11(2004) |
| На территории РФ пользоваться: | ГОСТ 30804.4.11-2013 |
| Нормативные ссылки: | ГОСТ Р 8.568-97; ГОСТ Р 51317.2.4-2000; ГОСТ Р 51317.4.14-2000; ГОСТ 30372-95; ГОСТ Р 50397-92 |
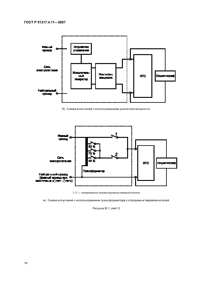
| Область применения: | Настоящий стандарт устанавливает методы испытаний электротехнических, электронных и радиоэлектронных изделий и оборудования, подключаемых к низковольтным (напряжение не выше 1000 В) электрическим сетям переменного тока, на устойчивость к воздействию провалов, кратковременных прерываний и изменений напряжения электропитания, а также рекомендуемые уровни испытательных напряжений при проведении испытаний на помехоустойчивость. Настоящий стандарт не распространяется на технические средства, подключаемые к электрическим сетям переменного тока частотой 400 Гц |
| Список изменений: | №0 от 01.01.2014 (рег. 21.07.2013) «Текстовое изменение; Изменено заглавие» |
|