Скачать ГОСТ 25762-83 Обработка резанием. Термины, определения и обозначения общих понятийДата актуализации: 01.06.2025 ГОСТ 25762-83
Обработка резанием. Термины, определения и обозначения общих понятий
| Обозначение: |  ГОСТ 25762-83 |
| Статус: | действующий |
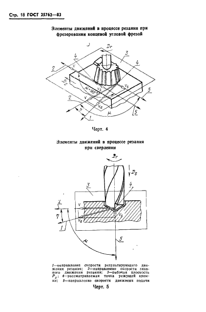
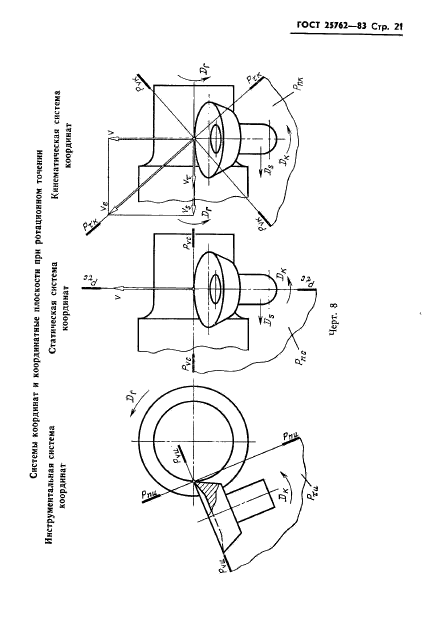
| Название рус.: | Обработка резанием. Термины, определения и обозначения общих понятий | | Название англ.: | Machining. Terms, definitions | | Дата актуализации текста: | 06.04.2015 | | Дата актуализации описания: | 01.07.2023 | | Дата издания: | 01.08.1985 | | Дата введения: | 01.07.1984 | | Код ОКП: | 943300 | | Нормативные ссылки: | ISO 3002-1:1977; ГОСТ 3.1109-82; ГОСТ 25751-83 | | Область применения: | Настоящий стандарт устанавливает применяемые в науке, технике и производстве термины и определения общих понятий, относящихся ко всем видам обработки резанием, а также буквенные обозначения величин кинематических элементов резания, координатных плоскостей и элементов лезвия | |
                                           
|