| Обозначение: |  ГОСТ 27817-88 |
| Статус: | действующий |
| Название рус.: | Системы обработки информации. Машинная графика. Функциональное описание ядра графической системы |
| Название англ.: | Information processing systems. Computer graphics. Functional description of graphical kernel system |
| Дата актуализации текста: | 06.04.2015 |
| Дата актуализации описания: | 01.07.2023 |
| Дата издания: | 06.02.1989 |
| Дата введения: | 01.07.1989 |
| Содержит требования: | СТ СЭВ 6177-88 |
| Нормативные ссылки: | ISO 7942;СТ СЭВ 359-76;СТ СЭВ 356-86;СТ СЭВ 5712-86;АNSI Х.3.1241-85 |
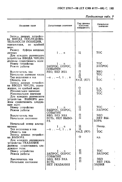
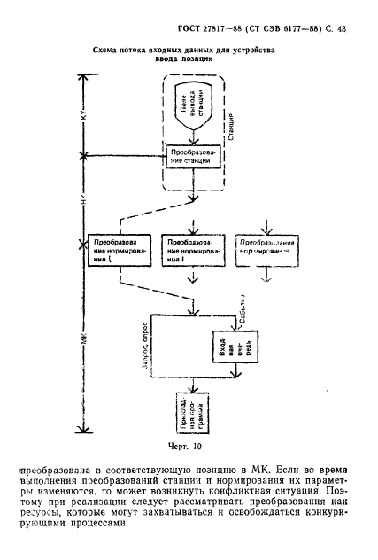
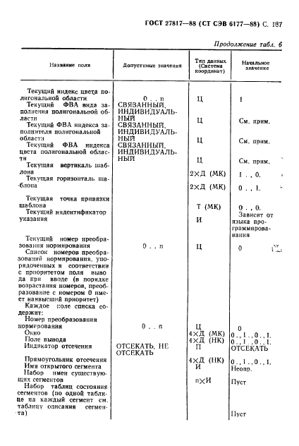
| Область применения: | Настоящий стандарт распространяется на программные и технические средства машинной графики, реализующие и использующие ядро графической системы, и устанавливает общие положения, концепции ядра графической системы, структуру данных и функции ядра графической системы, используемые в системах автоматизированного проектирования, в автоматизированных системх управления и других областях, где применяются средства машинной графики |
|