| Обозначение: |  ГОСТ 15086-69 |
| Статус: | действующий |
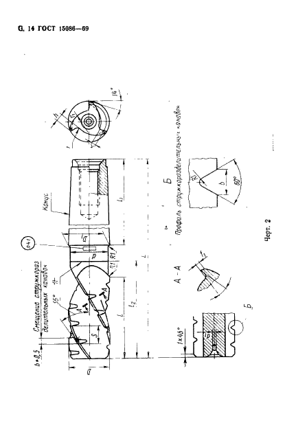
| Название рус.: | Фрезы концевые обдирочные с коническими хвостовиками. Технические условия |
| Название англ.: | Heavy-duty taper shank end mills. Specifications |
| Дата актуализации текста: | 06.04.2015 |
| Дата актуализации описания: | 01.01.2026 |
| Дата издания: | 01.08.1991 |
| Дата введения: | 01.07.1971 |
| Дата окончания срока действия: | 01.07.2026 |
| Код ОКП: | 391824 |
| Взамен: | МН 3000-61;МН 3001-61;МН 3002-61;МН 3003-61 |
| На территории РФ пользоваться: | ГОСТ Р 72054-2025 |
| Нормативные ссылки: | ГОСТ 8.051-81; ГОСТ 9.014-78; ГОСТ 1050-88; ГОСТ 2789-73; ГОСТ 2848-75; ГОСТ 4543-71; ГОСТ 9013-59; ГОСТ 9378-75; ГОСТ 9953-82; ГОСТ 14034-74; ГОСТ 18088-83; ГОСТ 19265-73; ГОСТ 23726-79; ГОСТ 25557-82; ГОСТ 25706-83;ОСТ 1015;ОСТ 1010 |
| Область применения: | Настоящий стандарт распространяется на фрезы, предназначенные для обработки грубых поверхностей заготовок, получаемых литьем, свободной ковкой, и поверхностей с большой шириной фрезерования, а также для фрезерования с увеличенными подачами |
| Список изменений: | №2 от 01.01.1973 (рег. 27.08.1972) «Срок действия продлен» №3 от 31.03.1981 (рег. 30.12.1980) «Срок действия продлен» №4 от 01.09.1987 (рег. 05.04.1987) «Срок действия продлен» №5 от 01.05.1990 (рег. 23.11.1989) «Срок действия продлен» |
|