| Обозначение: |  ГОСТ 16339-70 |
| Статус: | действующий |
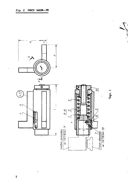
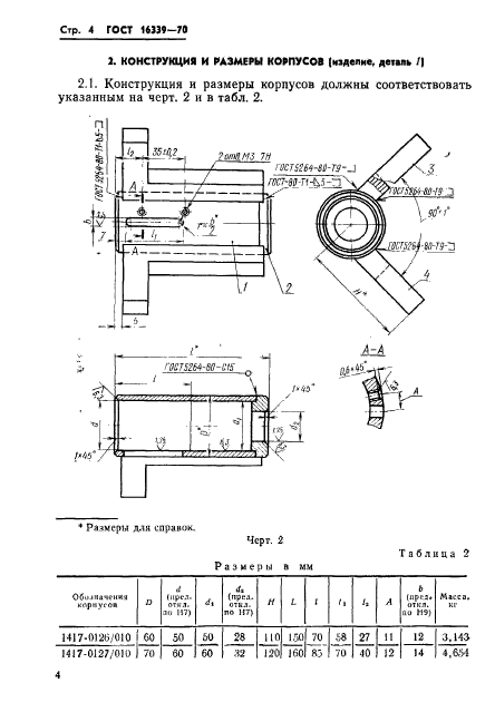
| Название рус.: | Державки суппортные для роликовых головок на усилия 250 и 500 кгс. Конструкция и размеры |
| Название англ.: | Support holders for a 250 and 500 kg force rolling heads. Construction and dimensions |
| Дата актуализации текста: | 06.04.2015 |
| Дата актуализации описания: | 01.07.2023 |
| Дата издания: | 01.06.1982 |
| Дата введения: | 01.07.1971 |
| Код ОКП: | 396100 |
| Взамен: | МН 5836-65 |
| Нормативные ссылки: | ГОСТ 380-71; ГОСТ 1050-74; ГОСТ 17475-72; ГОСТ 1491-80; ГОСТ 5632-72; ГОСТ 19903-74; ГОСТ 8732-78; ГОСТ 14637-79; ГОСТ 14959-79; ГОСТ 14963-78; ГОСТ 16345-70; ГОСТ 9.073-77 |
| Область применения: | Настоящий стандарт распространяется на державки суппортные для роликовых головок их конструкции и размеры |
| Список изменений: | №1 от 01.01.1982 (рег. 01.12.1981) «Срок действия продлен» |
|