| Обозначение: |  ГОСТ 15936-70 |
| Статус: | действующий |
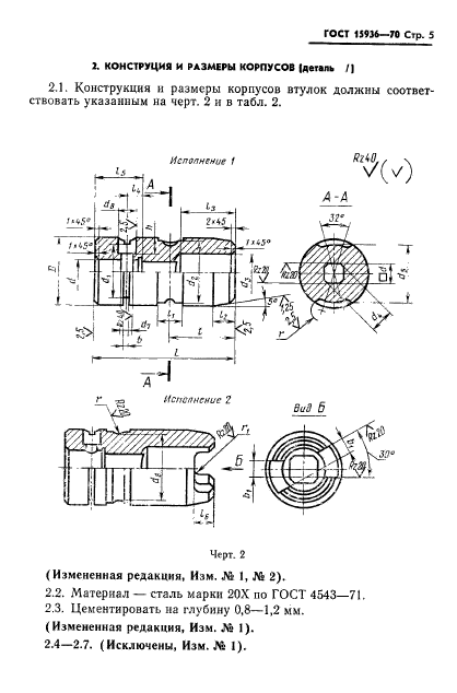
| Название рус.: | Втулки переходные быстросменные жесткие для метчиков. Конструкция и размеры |
| Название англ.: | Quick-changing stiff adapters for taps. Design and dimensions |
| Дата актуализации текста: | 06.04.2015 |
| Дата актуализации описания: | 01.07.2023 |
| Дата издания: | 01.06.1981 |
| Дата введения: | 01.01.1971 |
| Код ОКП: | 392830;396100 |
| Взамен: | МН 5748-65 |
| Нормативные ссылки: | ГОСТ 14077-78; ГОСТ 4543-71; ГОСТ 8820-69; ГОСТ 17166-71; ГОСТ 1435-74; ГОСТ 9.073-77; ГОСТ 9389-75 |
| Область применения: | Настоящий стандарт распространяется на переходные быстросменные жесткие втулки для быстросменного инструмента при нарезании резьб машинно-ручными метчиками |
| Список изменений: | №1 от 01.07.1981 (рег. 16.03.1981) «Срок действия продлен» №2 от 30.06.1981 (рег. 16.03.1981) «Срок действия продлен» |
|