| Обозначение: |  ГОСТ 16086-70 |
| Статус: | действующий |
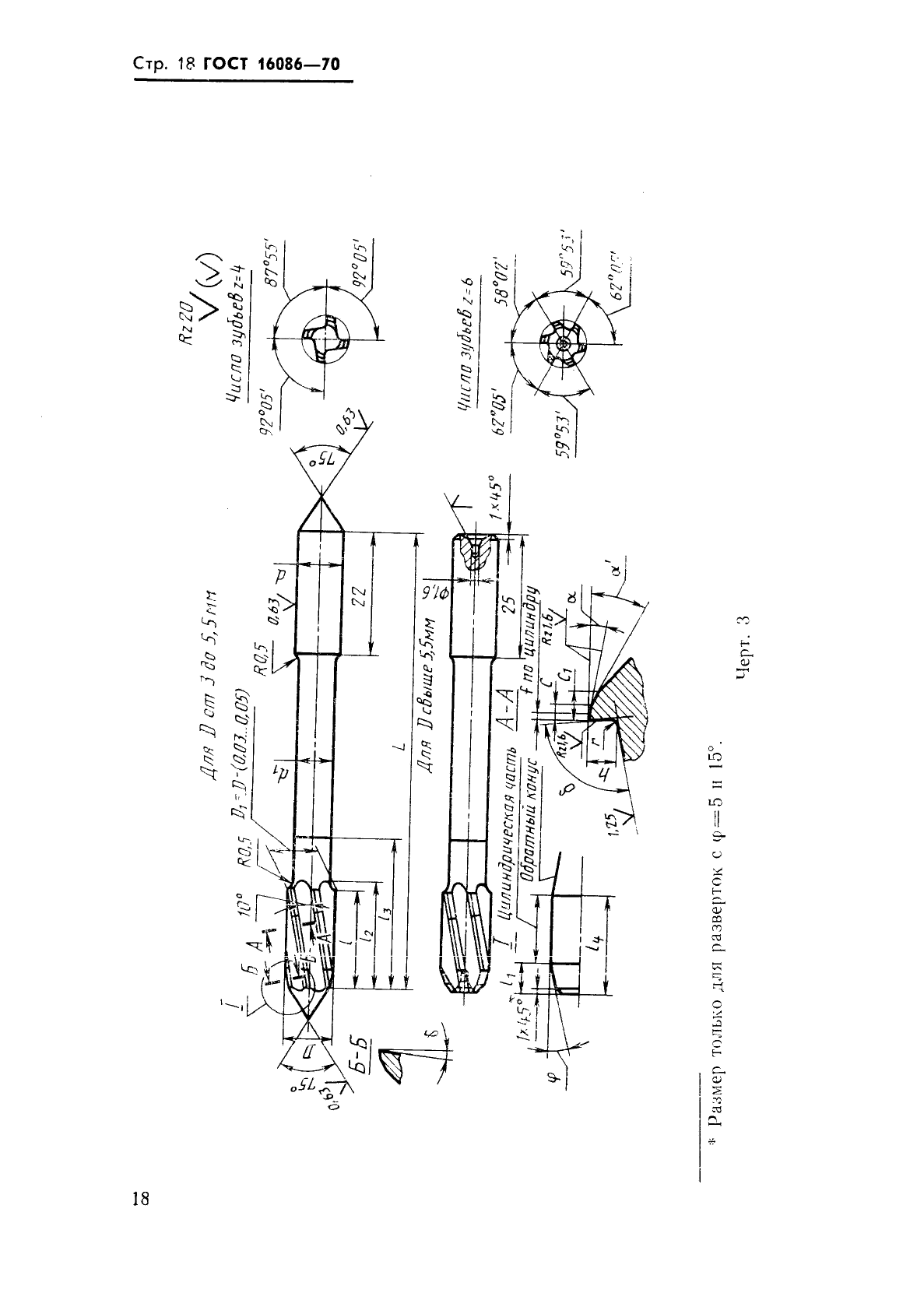
| Название рус.: | Развертки машинные цельные с цилиндрическим хвостовиком из твердого сплава. Типы и основные размеры |
| Название англ.: | Solid carbide machine reamers with cylindrical shank. Types and basic dimensions |
| Дата актуализации текста: | 06.04.2015 |
| Дата актуализации описания: | 01.07.2023 |
| Дата издания: | 01.12.1985 |
| Дата введения: | 01.01.1972 |
| Код ОКП: | 391700 |
| Нормативные ссылки: | ГОСТ 14034-74; ГОСТ 16088-70;СТ СЭВ 144-75 |
| Область применения: | Настоящий стандарт распространяется на машинные цельные чистовые развертки с цилиндрическим хвостовиком из твердого сплава для обработки без кондукторных втулок отверстий с полями допусков Н7, К7, Н8, Н9 по СТ СЭВ 144-75 или с припуском под доводку от №1 до 6 в труднообрабатываемых материалах с сигмой В = 1600-2000 МПа (160-200 кгс/мм кв.) или пластмассах с абразивными наполнителями |
| Список изменений: | №1 от 31.03.1977 (рег. 31.03.1977) «Срок действия продлен» №2 от 31.07.1980 (рег. 23.06.1980) «Срок действия продлен» |
|