| Обозначение: |  ГОСТ 17295-71 |
| Статус: | действующий |
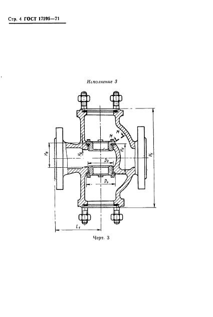
| Название рус.: | Устройства исполнительные средних расходов ГСП. Блоки корпусов. Исполнения. Основные и присоединительные размеры |
| Название англ.: | Middle flow actuating device SSI. Body assembly. Pattern. Basic and connecting dimensions |
| Дата актуализации текста: | 06.04.2015 |
| Дата актуализации описания: | 01.07.2023 |
| Дата издания: | 25.02.1972 |
| Дата введения: | 01.01.1974 |
| Код ОКП: | 421800 |
| Нормативные ссылки: | ГОСТ 14238-69; ГОСТ 14242-69; ГОСТ 14239-69; ГОСТ 16093-70; ГОСТ 9253-70; ГОСТ 1234-67; ГОСТ 1233-67;ОСТ 1010 |
| Область применения: | Настоящий стандарт распространяется на блоки корпусов, предназначенные для комплектования регулирующих и запорно-регулирующих исполнительных устройств средних расходов государственной системы промышленных приборов и средств автоматизации на условные давления до 64 кгс/см в кв (6,4 МН/м в кв); односедельных проходных, трехходовых, двухседельных |
|