| Обозначение: |  ГОСТ 18071-72 |
| Статус: | действующий |
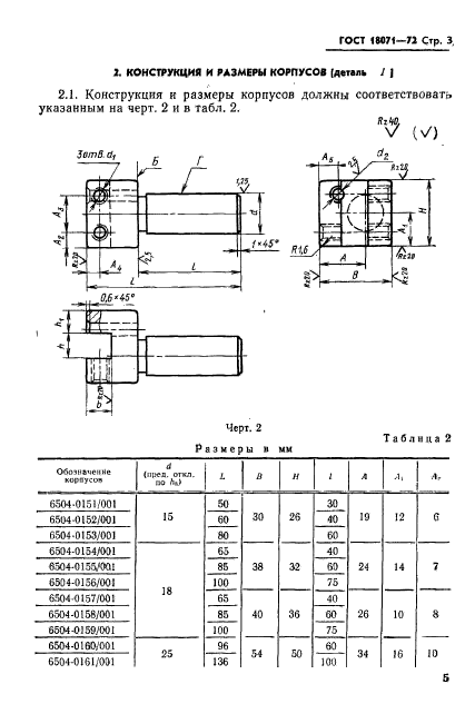
| Название рус.: | Державки сменные для прямого крепления резцов к токарно-револьверным автоматам. Конструкция и размеры |
| Название англ.: | Changeable arbors for the straigh fixing of cutters for turret automatics. Design and dimensions |
| Дата актуализации текста: | 06.04.2015 |
| Дата актуализации описания: | 01.07.2023 |
| Дата издания: | 01.06.1981 |
| Дата введения: | 01.07.1973 |
| Код ОКП: | 392800 |
| Взамен: | МН 1212-60 |
| Нормативные ссылки: | ГОСТ 9.073-77; ГОСТ 1050-74; ГОСТ 1482-75; ГОСТ 1486-75; ГОСТ 3128-70; ГОСТ 4543-71; ГОСТ 8820-69; ГОСТ 10549-63; ГОСТ 16093-70; ГОСТ 17166-71;СТ СЭВ 182-75 |
| Область применения: | Настоящий стандарт устанавливает конструкцию и размеры державок |
| Список изменений: | №1 от 01.07.1981 (рег. 16.03.1981) «Срок действия продлен» |
|