| Обозначение: |  ГОСТ 18438-73 |
| Статус: | действующий |
| Название рус.: | Оправки зубчатые (шлицевые) прямобочные центровые. Конструкция и размеры |
| Название англ.: | Notched straight-side center arbors. Design and dimensions |
| Дата актуализации текста: | 06.04.2015 |
| Дата актуализации описания: | 01.07.2023 |
| Дата издания: | 23.05.1973 |
| Дата введения: | 01.07.1974 |
| Код ОКП: | 396100;392880 |
| Взамен в части: | МН 3623-62 в части оправок исполнения I |
| Нормативные ссылки: | ГОСТ 9.014-78; ГОСТ 9.073-77; ГОСТ 1139-80; ГОСТ 4543-71; ГОСТ 8820-69; ГОСТ 8908-81; ГОСТ 9150-59; ГОСТ 10356-63; ГОСТ 10549-80; ГОСТ 14034-74; ГОСТ 14727-69; ГОСТ 16093-81; ГОСТ 18441-73; ГОСТ 21474-75; ГОСТ 24643-81; ГОСТ 24705-81 |
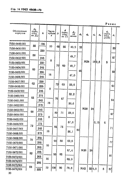
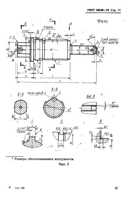
| Область применения: | Настоящий стандарт распространяется на центровые зубчатые (шлицевые) оправки, предназначенные для установки изделий с базовым зубчатым отверстием прямобочного профиля зубьев, изготовленных с предельными отклонениями поверхности центрирования D по А, при обработке их на токарных и круглошлифовальных станках |
| Список изменений: | №1 от 01.03.1984 (рег. 21.11.1983) «Срок действия продлен» |
|