Скачать ГОСТ 18679-73 Ушки для пломбирования. Конструкция и размерыДата актуализации: 01.06.2025
| ||||||||||||||||||||||||||||||
| Обозначение: | ![]() ГОСТ 18679-73 |
| Статус: | действующий |
| Название рус.: | Ушки для пломбирования. Конструкция и размеры |
| Название англ.: | Ears for sealing. Design and dimensions |
| Дата актуализации текста: | 06.04.2015 |
| Дата актуализации описания: | 01.07.2023 |
| Дата издания: | 01.12.1991 |
| Дата введения: | 01.01.1974 |
| Нормативные ссылки: | ГОСТ 2284-79; ГОСТ 16523-89; ГОСТ 18680-73 |
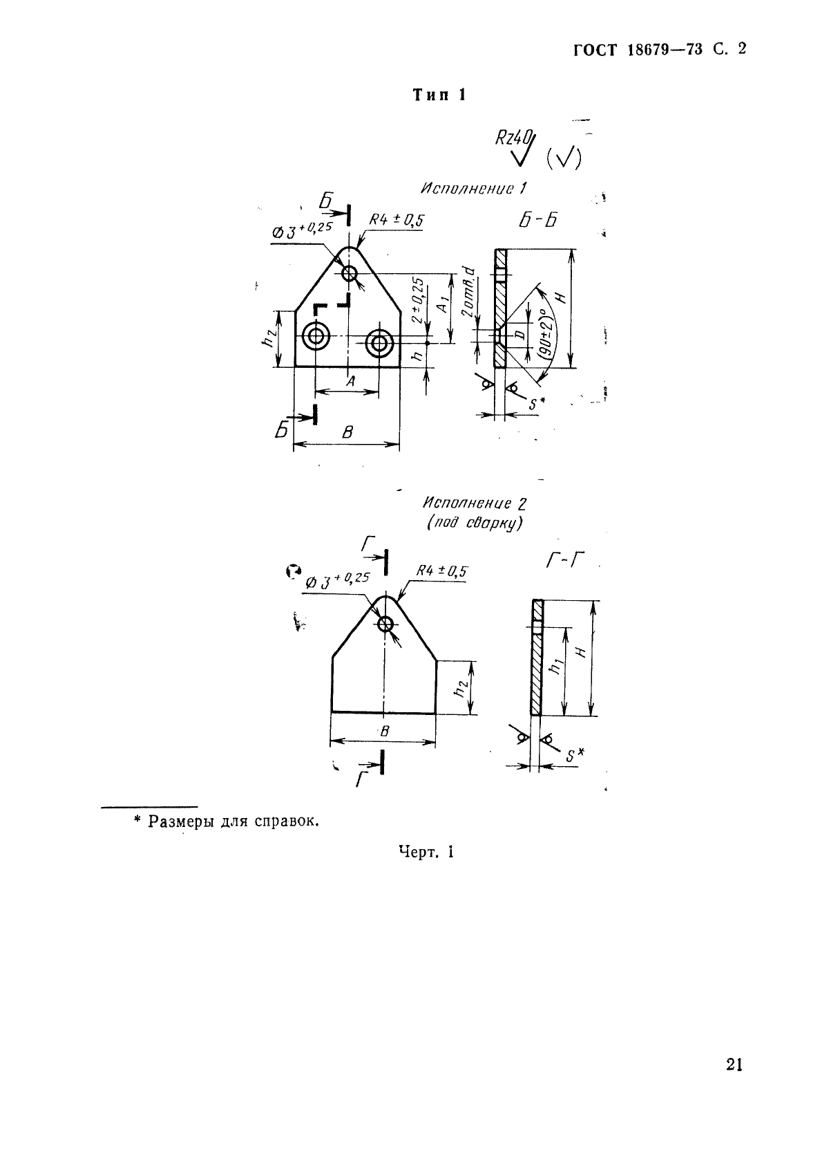
| Область применения: | Настоящий стандарт распространяется на ушки, предназначенные для пломбирования деревянной и металлической тары и других изделий |
| Список изменений: | №1 от 01.11.1977 (рег. 13.09.1977) «Срок действия продлен» №2 от 30.06.1979 (рег. 16.02.1979) «Срок действия продлен» №3 от 01.09.1981 (рег. 25.03.1981) «Срок действия продлен» №4 от 01.01.1989 (рег. 14.03.1988) «Срок действия продлен» №5 от 01.01.2002 (рег. 07.08.2001) «Текстовое изменение; Изменены ссылочные НД» |
| Приложение №1: | Изменение №5 к ГОСТ 18679-73 |










| Обозначение: | Изменение №5 к ГОСТ 18679-73 |
| Дата введения: | 01.01.2002 |

