| Обозначение: |  ГОСТ 20153-74 |
| Статус: | действующий |
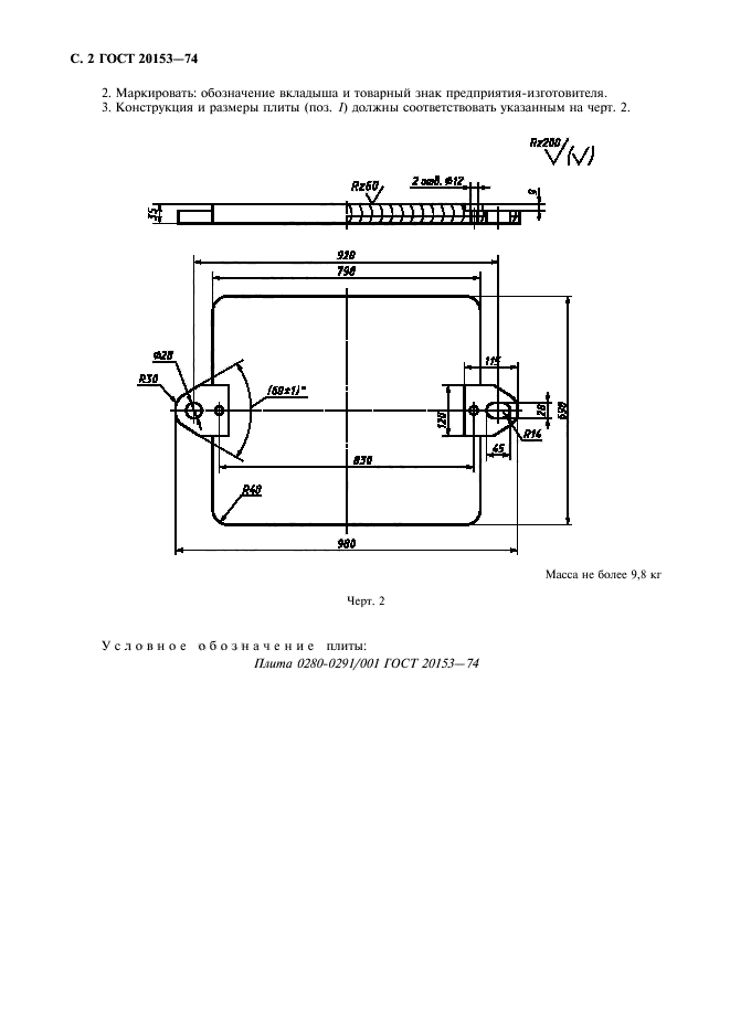
| Название рус.: | Вкладыш деревянный сменный мелкий длиной 798 мм, шириной 698 мм для модельных плит. Конструкция и размеры |
| Название англ.: | Shallow changeable wooden insert by length 798 mm, width 698 mm for pattern plates. Design and dimensions |
| Дата актуализации текста: | 06.04.2015 |
| Дата актуализации описания: | 01.07.2023 |
| Дата издания: | 01.09.2000 |
| Дата введения: | 01.07.1975 |
| Нормативные ссылки: | ГОСТ 380-94; ГОСТ 1145-80; ГОСТ 20131-80 |
| Область применения: | Настоящий стандарт устанавливает конструкцию и размеры вкладыша |
| Список изменений: | №1 от 01.05.1982 (рег. 09.02.1982) «Срок действия продлен» №2 от 01.06.1988 (рег. 17.12.1987) «Срок действия продлен» |
|