| Обозначение: |  ГОСТ 13966-74 |
| Статус: | действующий |
| Название рус.: | Тройники фланцевые проходные для соединений трубопроводов по наружному конусу. Конструкция и размеры |
| Название англ.: | Flange union tees for tube connections on external cone. Construction and dimensions |
| Дата актуализации текста: | 06.04.2015 |
| Дата актуализации описания: | 01.07.2023 |
| Дата издания: | 01.01.1988 |
| Дата введения: | 01.07.1975 |
| Код ОКП: | 371000;374000;759900 |
| Взамен: | ГОСТ 13966-68 |
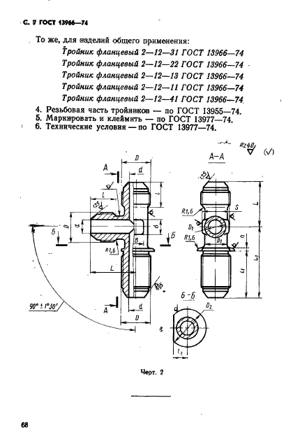
| Нормативные ссылки: | ГОСТ 13955-74; ГОСТ 13977-74 |
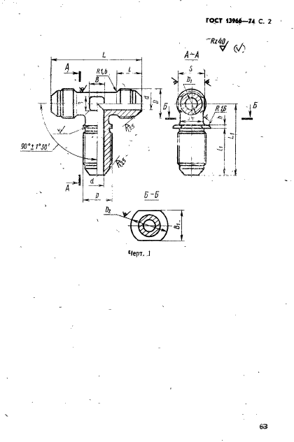
| Область применения: | Настоящий стандарт устанавливает конструкцию и размеры тройников фланцевых проходных для соединений трубопроводов по наружному конусу |
|