| Обозначение: |  ГОСТ 19869-74 |
| Статус: | действующий |
| Название рус.: | Фонограммы магнитные на 35-мм перфорированной ленте. Размеры и расположение дорожек записи и магнитных головок. Технические требования |
| Название англ.: | Magnetic sound records on 35-mm perforated film. Dimensions and location of magnetic sound records and magnetic heads. Technical requirements |
| Дата актуализации текста: | 06.04.2015 |
| Дата актуализации описания: | 01.07.2023 |
| Дата издания: | 01.01.1998 |
| Дата введения: | 01.07.1975 |
| Код ОКП: | 968810;408400 |
| Взамен: | ГОСТ 8305-57; ГОСТ 12591-67 |
| Нормативные ссылки: | ISO 491:1988; ГОСТ 8303-93 |
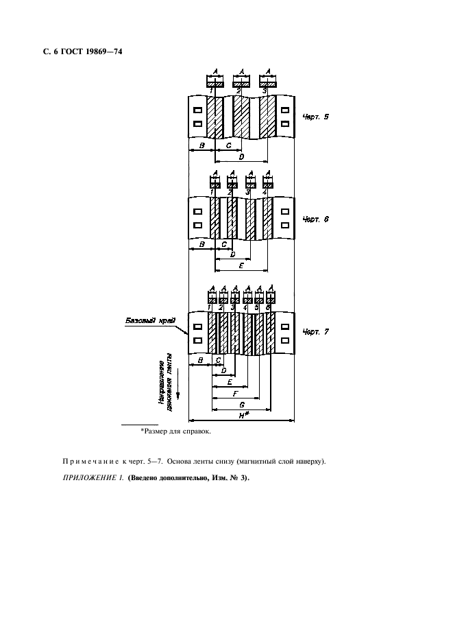
| Область применения: | Настоящий стандарт распространяется на одно-, трех-, четырех- и шестидорожечные магнитные фонограммы на 35-мм перфорированной ленте, записанные со скоростью 45,6 см/с и используемые в процессе производства кинофильмов, и устанавливает размеры, расположение и нумерацию дорожек записи, а также длину и расположение рабочих зазоров магнитных головок для записи, воспроизведения и стирания фонограмм, технические требования и методы испытаний |
| Список изменений: | №1 от 01.01.1988 (рег. 25.06.1987) «Срок действия продлен» №2 от 01.04.1990 (рег. 27.10.1989) «Срок действия продлен» №3 от 01.07.1997 (рег. 03.06.1996) «Срок действия продлен» |
|