| Обозначение: |  ГОСТ 20507-75 |
| Статус: | действующий |
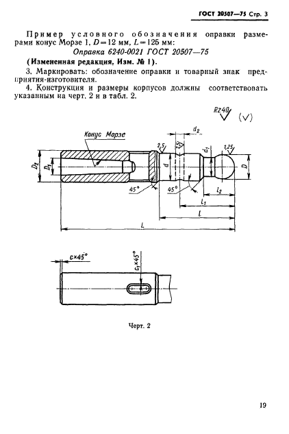
| Название рус.: | Оправки качающиеся для разверток с коническим хвостовиком к токарно-револьверным станкам. Конструкция и размеры |
| Название англ.: | Pivoting arbours for reamers with a tapered shank for turret lathes. Design and dimensions |
| Дата актуализации текста: | 06.04.2015 |
| Дата актуализации описания: | 01.07.2023 |
| Дата издания: | 01.08.1981 |
| Дата введения: | 01.01.1976 |
| Код ОКП: | 392810 |
| Взамен: | МН 1024-60 |
| Нормативные ссылки: | ГОСТ 9.073-77; ГОСТ 3128-70; ГОСТ 4543-71; ГОСТ 17166-71; ГОСТ 20505-75; ГОСТ 24643-81;СТ СЭВ 147-75 |
| Область применения: | Настоящий стандарт распространяется на качающиеся оправки для разверток с коническим хвостовиком, устанавливаемые в поводковые патроны токарно-револьверных станков |
| Список изменений: | №1 от 01.07.1981 (рег. 16.03.1981) «Срок действия продлен» |
|